Drehmomente prüfen
Schrauben/Muttern der Hinterräder anziehen

LX1030720-UN-13JAN03
A - 500 N˙m (370 lb.-ft.)
B - 230 N˙m (170 lb.-ft.)
Schrauben der Hinterradgewichte

LX009816-UN-04JAN95

LX009817-UN-02JAN95
A - 215 N·m (159 lb.-ft.)
B - Einhängeklauen
C - 215 N·m (159 lb.-ft.)
Schrauben/Muttern der Vorderräder anziehen

LX1030721-UN-13JAN03
A - 300 N˙m (220 lb.-ft.)
B - 230 N˙m (170 lb.-ft.)
Schrauben des Anbaurahmens der Dreipunktaufhängung,
vorn

LX1035420-UN-07DEC04
Schrauben des Anbaurahmens der Dreipunktaufhängung auf
festen Sitz prüfen.
Die Drehmomente betragen 550 N˙m (405 lb.-ft.)
Schrauben des Anbaurahmens des Frontladers

LX1035426-UN-10DEC04
Schrauben des Anbaurahmens des Frontladers auf festen Sitz prüfen.
Die Drehmomente betragen 550 N˙m (405 lb.-ft.)
Schrauben der Vorderachsbefestigung

LX1035427-UN-10DEC04
Schrauben der Vorderachsbefestigung (4 Stück) auf festen
Sitz prüfen.
Die Drehmomente betragen 550 N˙m (405 lb.-ft.)
Schrauben/Muttern der Wagenanhängevorrichtung

LX1035428-UN-10DEC04
A - Schrauben
Schrauben (A) der Wagenanhängevorrichtung auf festen Sitz
prüfen.
Die Drehmomente betragen 310 N˙m (230 lb.-ft.)

LX1035429-UN-10DEC04
B - Muttern
Muttern (B) der Wagenanhängevorrichtung auf festen Sitz
prüfen.
Die Drehmomente betragen 265 N˙m (195 lb.-ft.)
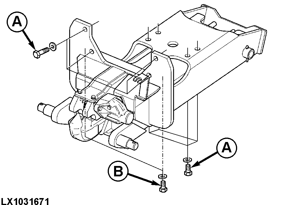
Schrauben der hydraulischen Wagenanhängevorrichtung

LX1031671-UN-17FEB03
A - Sechskantschrauben
B - Innen-Sechskantschrauben
Drehmomente der Befestigungsschrauben prüfen.
Sechskantschrauben (A) mit 310 N˙m (230 lb.-ft.) anziehen.
Innen-Sechskantschrauben (B) -hinter der Frontplatte- mit 280 N˙m
(208 lb.-ft.) anziehen.
Schrauben des Zugpendels

LX1035440-UN-18JAN05
A - Sechskantschrauben
B - Stopfen
Drehmomente der Befestigungsschrauben und des Stopfens prüfen.
Sechskantschrauben (A) und Stopfen (B) mit 310 N˙m (230
lb.-ft.) anziehen.
|
|
OULXE59,00106E9-29-20100812
|
|