Mantenersi a distanza da alberi di comando rotanti

TS1644-UN-22AUG95

H96219-UN-29APR10
L'impigliamento in un albero di comando rotante può causare
infortuni gravi o mortali.
Accertarsi che la protezione principale del trattore e le protezioni
degli alberi di comando siano sempre montate. Accertarsi che le protezioni
rotanti girino liberamente.
Indossare abbigliamento aderente. Prima di eseguire regolazioni,
collegamenti o pulire l'attrezzatura azionata dalla PTO, arrestare
il motore e accertarsi che l'albero di comando della PTO sia fermo.
Non installare nessun dispositivo adattatore tra il trattore
e l'albero di comando della PTO dell'attrezzatura principale che consenta
a un albero del trattore da 1000 giri/min di alimentare un'attrezzatura
da 540 giri/min a velocità superiori a 540 giri/min.
Non installare nessun dispositivo adattatore che possa lasciare
scoperta una parte dell'albero rotante dell'attrezzatura, dell'albero
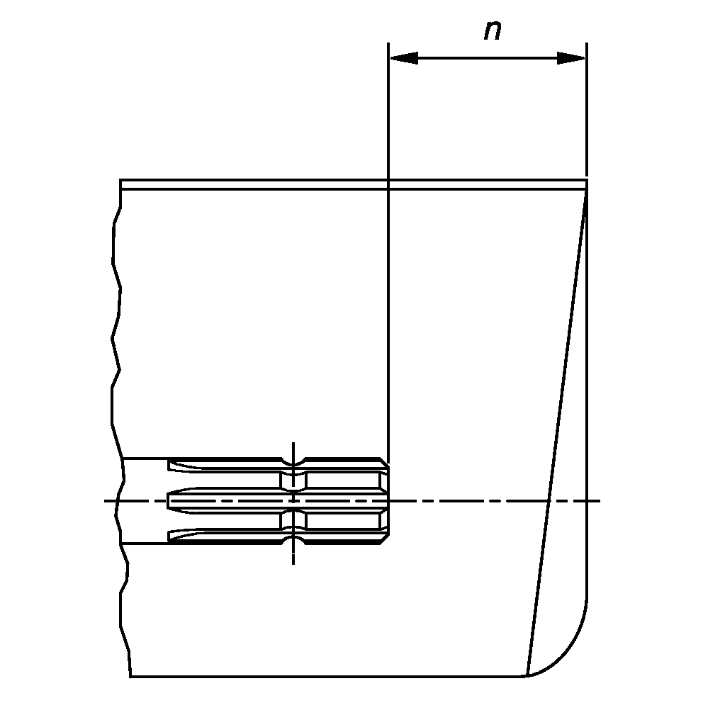
del trattore o dell'adattatore. La protezione principale del trattore
deve sovrapporsi all'estremità dell'albero scanalato e al dispositivo
adattatore aggiunto come illustrato nella tabella.
|
Tipo PTO
|
Diametro
|
Scanalature
|
n ± 5 mm (0.20 in.)
|
|
1
|
35 mm (1.378 in.)
|
6
|
85 mm (3.35 in.)
|
|
2
|
35 mm (1.378 in.)
|
21
|
85 mm (3.35 in.)
|
|
3
|
45 mm (1.772 in.)
|
20
|
100 mm (4.00 in.)
|
|