Giunti per tubi flessibili

LX006613-UN-15AUG94
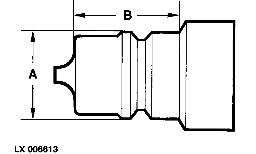
I giunti per tubi utilizzati devono essere conformi agli standard
ISO.
La dimensione (A) deve essere compresa tra 23,66 e 23,74 mm
(0.931 and 0.934 in.).
La dimensione (B) deve essere di almeno 24 mm.
|
|
LX,OZUSAT004842-39-19930802
|
|