Preassemblaggio del peso con barra di presa
ATTENZIONE: Nell'esecuzione delle operazioni che seguono, rispettare
le istruzioni per la sicurezza.
ATTENZIONE: Le attrezzature per sollevare e trasportare il peso
devono essere in grado di supportare almeno 900 kg.
ATTENZIONE: Usare solo organi di sollevamento approvati.
ATTENZIONE: Rispettare le norme di sicurezza. Non sostare sotto
i carichi sospesi.
NOTA: Per facilitare lo spostamento del peso sarebbe bene preassemblarlo
su un pallet. Accertarsi che il pallet possa sostenere il peso.

LX013997-UN-02APR96
Usare un paranco e abbassare il peso centrale (A) su una superficie
orizzontale.
Collocare i pesi laterali (B) adiacenti al peso centrale ed
inserire la barra di sostegno (C).
Serrare i dadi (D) a 300 N˙m.
Regolare le spine (E) alla lunghezza massima.

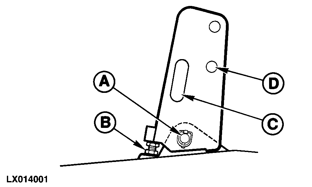
LX014001-UN-02APR96
Posizionare la staffa del terzo punto. Installare e fissare
la spina (A). Regolare la vite (B) nella staffa suddetta fino a portare
la testa a contatto con il peso e quindi bloccare con il controdado.
La staffa per il terzo punto ha una rientranza (C) dove possono
essere riposti i distanziatori non usati.
Quando la staffa per il terzo punto non viene usata, può
essere ripiegata e fissata al peso tramite il foro (D).
|
|
OU12401,0000C4D-39-20030102
|
|