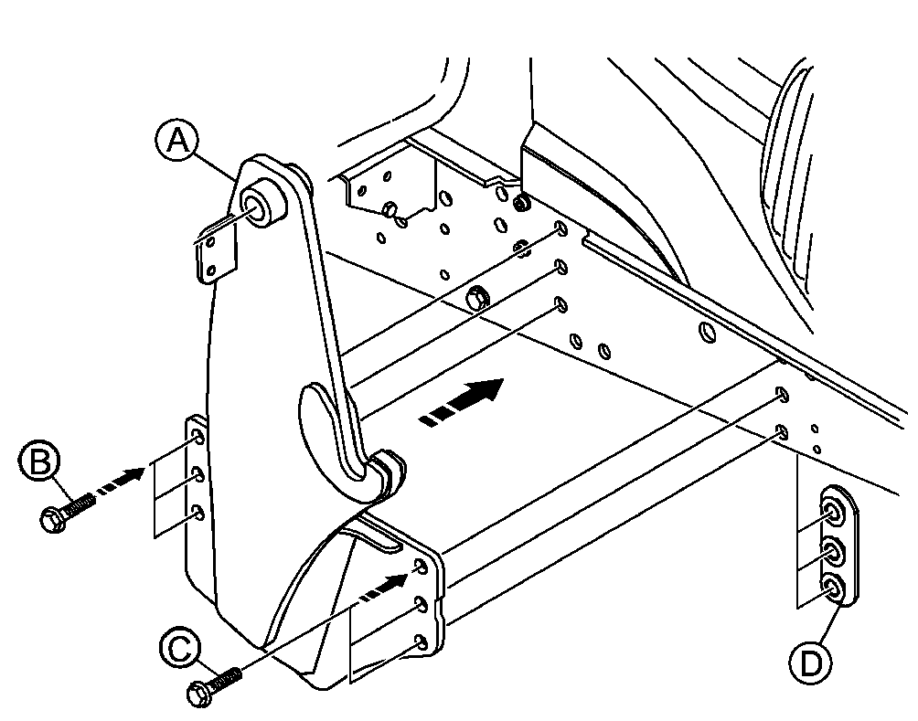
Installazione del caricatore frontale - Staffe del caricatore
frontale

LX1054644-UN-19JAN12
|
Viteria per le staffe del caricatore frontale John Deere
|
|
Rif.
|
Designazione
|
Apertura di chiave
|
Coppia
|
Standard
|
Filettatura
|
Lunghezza
|
Identificazione / grado
|
|
A
|
Peso della staffa del caricatore frontale, 100 kg (220 lb)
|
-
|
-
|
-
|
-
|
-
|
-
|
|
B
|
3 viti con flangia
|
30 mm
|
500 N˙m (370 lb.-ft.)
|
JDS123
|
M20 x 2.5
|
45 mm (1.8 in.)
|
10.9
|
|
C
|
3 viti con flangia
|
30 mm
|
550 N˙m (406 lb.-ft.)
|
JDS123
|
M20 x 2.5
|
45 mm (1.8 in.)
|
10.9
|
|
D
|
3 dadi con flangia
|
30 mm
|
-
|
ISO4161
|
M20 x 2.5
|
-
|
10
|
Con un paranco adatto, posizionare le staffe del caricatore
frontale sul telaio principale del trattore e serrare le viti alla
coppia specificata. Controllare regolarmente la coppia, vedere la
Sezione 85 "Lubrificazione e manutenzione periodica".
È disponibile per la vendita un caricatore frontale con
controllo e omologazione John Deere. Per l'installazione delle staffe
del caricatore anteriore John Deere utilizzare soltanto la viteria
adatta come illustrato sopra. Osservare anche il manuale dell'operatore
e le istruzioni di installazione del caricatore frontale.
|
|
OULXBER,0001BBF-39-20120119
|
|