Controllo coppie di serraggio
Serraggio delle viti/dadi di fissaggio delle ruote
posteriori

LX1030720-UN-13JAN03
A - 500 N˙m (370 lb-ft)
B - 230 N˙m (170 lb-ft)
Viti sui pesi per le ruote posteriori

LX009816-UN-04JAN95

LX009817-UN-02JAN95
A - 215 N·m (159 lb.-ft.)
B - Ganasce di ritegno
C - 215 N·m (159 lb.-ft.)
Serraggio viti e dadi di fissaggio delle ruote anteriori

LX1030721-UN-13JAN03
A - 300 N˙m (220 lb-ft)
B - 230 N˙m (170 lb-ft)
Viti telaio di montaggio per attacco a tre punti anteriore

LX1035420-UN-07DEC04
Controllare il serraggio delle viti del telaio di montaggio
per attacco a tre punti anteriore.
La coppia specificata è 550 N˙m (405 lb-ft).
Viti telaio di montaggio per caricatore anteriore

LX1035426-UN-10DEC04
Controllare il serraggio delle viti di montaggio del caricatore
anteriore.
La coppia specificata è 550 N˙m (405 lb-ft).
Viti del supporto assale anteriore

LX1035427-UN-10DEC04
Controllare il serraggio delle quattro viti del supporto assale
anteriore.
La coppia specificata è 550 N˙m (405 lb-ft).
Viti/dadi attacco per rimorchio

LX1035428-UN-10DEC04
A - Viti
Controllare che le viti (A) dell'attacco per rimorchio siano
serrate.
La coppia specificata è 310 N˙m (230 lb-ft).

LX1035429-UN-10DEC04
B - Dadi
Controllare che i dadi (B) dell'attacco per rimorchio siano
serrati.
La coppia specificata è 265 N˙m (195 lb-ft).
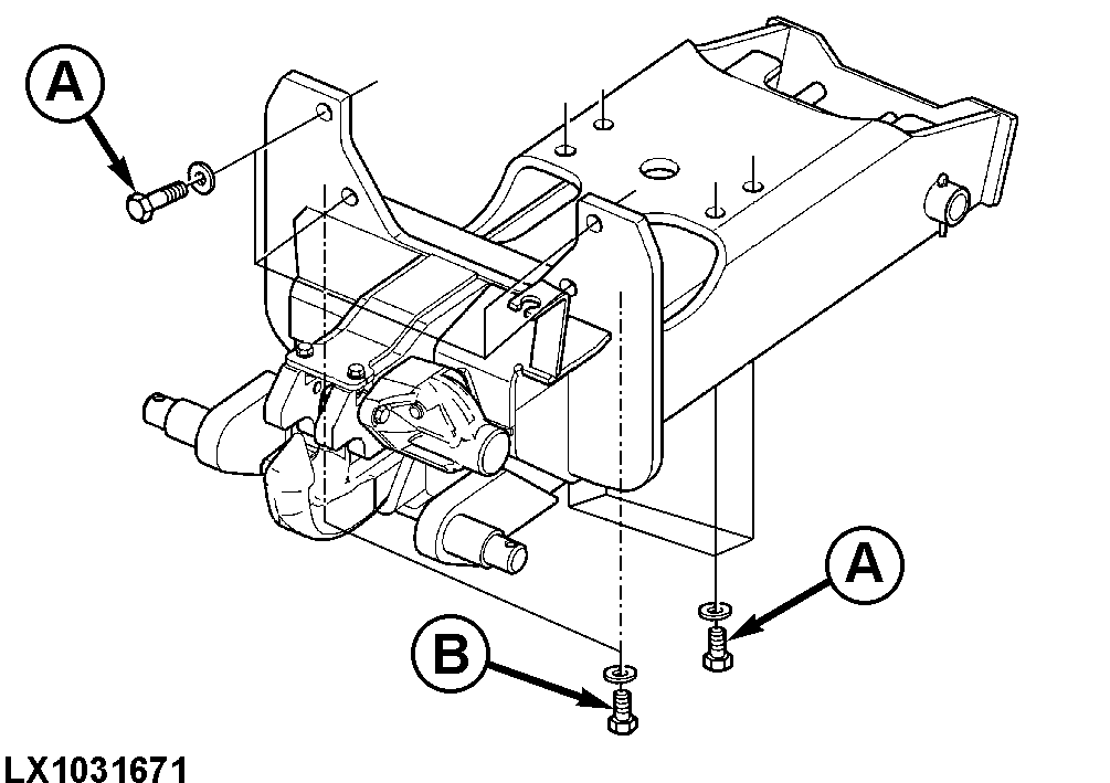
Viti dell'attacco a comando idraulico

LX1031671-UN-17FEB03
A - Viti
B - Viti a esagono interno
Controllare le coppie delle viti di montaggio.
Serrare le viti (A) a 310 N˙m (230 lb.-ft.).
Serrare le viti a esagono interno (B dietro la piastra anteriore)
a 280 N˙m (208 lb.-ft.).
Viti barra di traino

LX1035440-UN-18JAN05
A - Viti
B - Tappo
Controllare le coppie delle viti di montaggio e del tappo.
Serrare le viti (A) e il tappo (B) a 310 N˙m (230 lb-ft).
|
|
OULXE59,00106E9-39-20100812
|
|