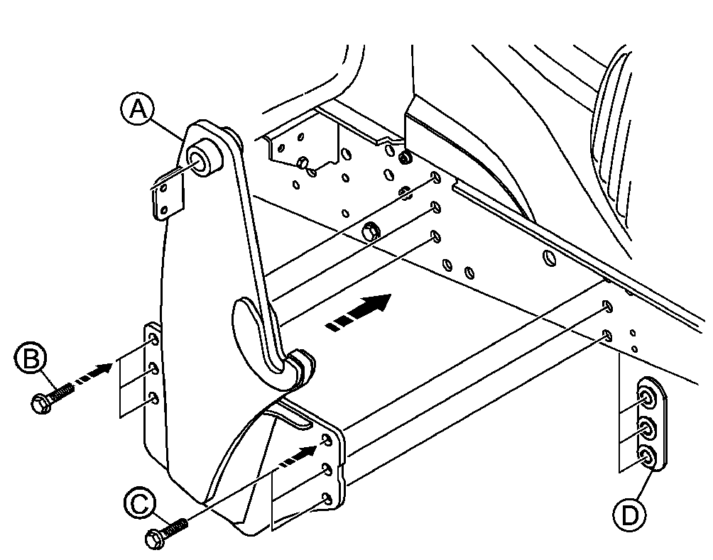
Montaż ładowacza czołowego - wsporniki ładowacza
czołowego

LX1054644-UN-19JAN12
|
Elementy mocujące do wsporników ładowacza
czołowego John Deere
|
|
Pozycja
|
Opis
|
Wymiar
|
Moment dokręcania
|
Norma
|
Gwint
|
Długość
|
Identyfikacja / klasa
|
|
A
|
Masa wspornika ładowacza czołowego, 100 kg (220
lb)
|
-
|
-
|
-
|
-
|
-
|
-
|
|
B
|
3 śruby z kołnierzem
|
30 mm
|
500 N•m (370 lb.-ft.)
|
JDS123
|
M20 x 2.5
|
45 mm (1.8 in.)
|
10.9
|
|
C
|
3 śruby z kołnierzem
|
30 mm
|
550 N•m (406 lb.-ft.)
|
JDS123
|
M20 x 2.5
|
45 mm (1.8 in.)
|
10.9
|
|
D
|
3 nakrętki z kołnierzem
|
30 mm
|
-
|
ISO4161
|
M20 x 2.5
|
-
|
10
|
Umieścić wsporniki ładowacza czołowego
na ramie głównej ciągnika przy użyciu odpowiedniego
dźwignika i dokręcić śruby zgodnie ze specyfikacją.
Regularnie sprawdzać moment dokręcenia; patrz sekcja
85, Smarowanie i obsługa okresowa.
W sprzedaży dostępny jest sprawdzony i zatwierdzony
przez John Deere ładowacz czołowy. Podczas montażu
wsporników ładowacza czołowego John Deere, używać
tylko odpowiednich elementów mocujących, jak pokazano
na rys. powyżej. Postępować zgodnie z instrukcją
obsługi i instrukcją montażową ładowacza
czołowego.
|
|
OULXBER,0001BBF-53-20120119
|
|