Previdnost pri vrtečih pogonskih oseh

TS1644-UN-22AUG95

H96219-UN-29APR10
Neprevidnost v območju vrtečih pogonskih osi lahko
povzroči težke poškodbe ali smrt.
Poskrbite, da so glavna zaščita in vsa varovala
osi ves čas pravilno nameščena. Prepričajte
se, da se vrteče zaščite osi prosto vrtijo.
Nosite tesna oblačila, ki se prilegajo telesu. Pred izvajanjem
nastavitev, priključkov ali čiščenja na
opremi, ki jo poganja kardanska gred, ugasnite motor in se prepričajte,
da je pogonska os ustavljena.
Med traktorjem in kardansko gredjo prvotne opreme ne nameščajte
napajalnih naprav, ki bi dopuščale gredi traktorja s
1000 vrt/min, da opremo s hitrostjo 540 vrt/min napaja pri hitrejših
hitrostih kot 540 vrt/min.
Ne nameščajte nobene napajalne naprave, ki povečuje
vrtenje gredi opreme, gredi traktorja ali ki povzroča, da je
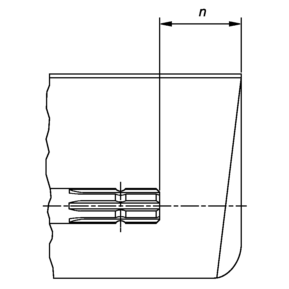
adapter nezaščiten. Glavna zaščita traktorja
mora prekrivati konec zobate gredi in dodano napajalno napravo, kot
je prikazano v tabeli.
|
Vrsta kardanske gredi
|
Premer
|
Utori
|
n ± 5 mm (0.20 in.)
|
|
1
|
35 mm (1.378 in.)
|
6
|
85 mm (3.35 in.)
|
|
2
|
35 mm (1.378 in.)
|
21
|
85 mm (3.35 in.)
|
|
3
|
45 mm (1.772 in.)
|
20
|
100 mm (4.00 in.)
|
|