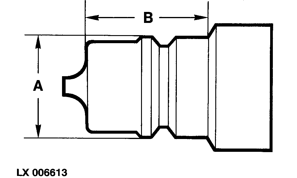
Priključni del

LX006613
LX006613-UN-15AUG94


Uporabljajte priključne dele po ISO standardu.

Mera (A) mora znašati med 23,66 in 23,74 mm (0.931 in 0.934 in.).

Mera (B) mora znašati minimalno 24 mm (0,945 in.).

LX,OZUSAT004842-82-19930802