Preverjanje daljinsko krmiljenega priklopa glede obrabe
OPOZORILO:

LX1031444-UN-23SEP03
Vlečni sornik z ravno stranico

LX1039100-UN-11JUL06
Kroglasti vlečni sornik
Dele, ki so dosegli ali presegli stopnjo obrabljenosti, morate
zamenjati z novimi.
Preverite premere (a, b in c) vlečnega sornika.
| Opravilo | Meritev | Tehnični podatki |
|
Vlečni sornik z ravno stranico | Meja obrabe ali premer (a) | min. 29 mm min. 1.14 in. |
|
Kroglasti vlečni sornik | Meja
obrabe ali premer (b) | min. 36,5 mm min. 1.44 in. |
|
Kroglasti vlečni sornik | Meja
obrabe ali premer (c) | min. 27 mm min. 1.06 in. |

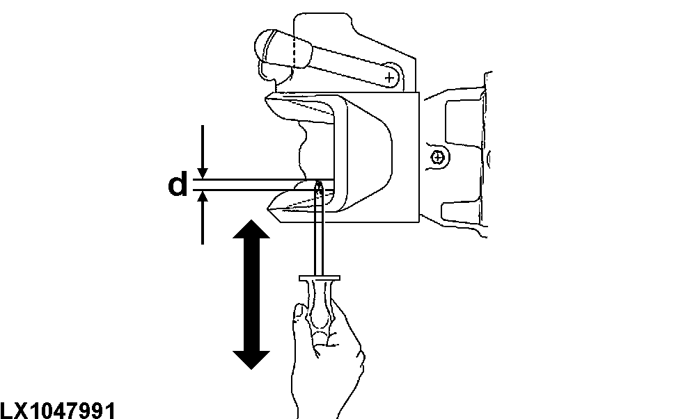
LX1047991-UN-23SEP09
Preverite navpično zračnost (d) priklopnega
sornika.
| Opravilo | Meritev | Tehnični podatki |
|
Vlečni sornik | Zračnost | maks. 2,5 mm maks. 0.1 in. |

LX1031443-UN-23SEP03
Preverite premer (c) odprtine sornika.
| Opravilo | Meritev | Tehnični podatki |
|
Spodnja odprtina (v smeri gibanja) | Meja obrabe ali premer | maks. 34,0 mm (ovalno) maks. 1.33 in. (ovalno) |

LX1047992-UN-23SEP09
Preverite debelino (e) obrabne plošče.
| Opravilo | Meritev | Tehnični podatki |
|
Obrabna plošča | Debelina | min. 6 mm min. 0.24 in. |
Preverite zračnost na dnu vodila sornika.
| Opravilo | Meritev | Tehnični podatki |
|
Sornik na dnu vodila sornika | Zračnost | maks. 2,5 mm maks. 0.1 in. |
Preverite obrabo priklopnega sornika ali izvrtine.
| Opravilo | Meritev | Tehnični podatki |
|
Priklopni sornik in odprtina | Obraba | maks. 1,5 mm maks. 0.06 in. |

LX1048787-UN-09DEC09
Določite zračnost (f) med priklopom prikolice
in sprejemnikom.
| Opravilo | Meritev | Tehnični podatki |
|
Priklop prikolice in sprejemnik | Zračnost | maks. 3,0 mm maks. 0.12 in. |
|
|
OULXBER,000194E-82-20100804
|
|