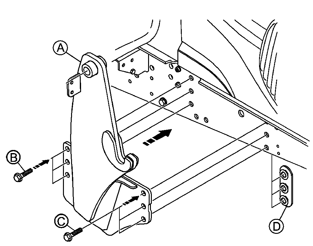
Namestitev sprednjega nakladalnika - nosilci sprednjega nakladalnika

LX1054644-UN-19JAN12
|
Strojna oprema za nosilce sprednjega nakladalnika John Deere
|
|
Predmet
|
Oznaka
|
Zev ključa
|
Zatezni moment
|
Standardna
|
Navoj
|
Dolžina
|
Identifikacija/stopnja
|
|
A
|
Teža nosilca sprednjega nakladalnika, 100 kg (220 lb)
|
-
|
-
|
-
|
-
|
-
|
-
|
|
B
|
3 vijaki s prirobnico
|
30 mm
|
500 N•m (370 lb.-ft.)
|
JDS123
|
M20 x 2,5
|
45 mm (1.8 in.)
|
10.9
|
|
C
|
3 vijaki s prirobnico
|
30 mm
|
550 N•m (406 lb.-ft.)
|
JDS123
|
M20 x 2,5
|
45 mm (1.8 in.)
|
10.9
|
|
D
|
3 matice s prirobnico
|
30 mm
|
-
|
ISO4161
|
M20 x 2,5
|
-
|
10
|
S primerno dvigalko dvignite nosilce sprednjega nakladalnika
do glavnega okvira traktorja in zategnite vijake s predpisanim zateznim
momentom. Redno preverjajte zatezni moment; glejte poglavje 85, Mazanje
in periodično vzdrževanje.
Pred nakupom sprednjega nakladalnika ga lahko preveri vaš
zastopnik za John Deere. Med nameščanjem nosilcev za
sprednji nakladalnik John Deere uporabite samo ustrezno strojno opremo,
kot je prikazano na zgornji sliki. Upoštevajte tudi navodila
za uporabo in namestitev sprednjega nakladalnika.
|
|
OULXBER,0001BBF-82-20120119
|
|