
LX1056920-UN-29JUL13

RXA0085782-UN-10JAN06
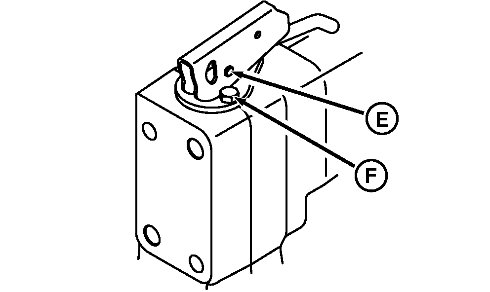
Quick coupler
A - Retaining Bolts
B - Cap Screws
C - Side frame, right
D - Side frame, left
E - C-clip and pin
F - Cap screw
For some series/tread widths, a changeover from Category
3 to Category 3N is necessary.
The quick coupler can be adjusted to Category 3 or 3N implements.
Use Category 3 whenever possible, especially for heavy loads.
IMPORTANT: When the quick coupler is converted from Category
3 to Category 3N, different wear plates and shims have to be installed,
depending on the tractor model. See "Adjust Telescopic Draft Links
for Category 3 or 3N" in this section.
IMPORTANT: To prevent damage to the device, the spreading dimension
of the telescopic draft link has to be adjusted to the quick coupler.
See "Draft Links — Adjust Spreading Dimension" in this section.
NOTE: When the "DeLuxe" quick coupler is used in Category 3N,
the spreading dimension has to be set to 900 mm.
NOTE: The conversion from Category 3 to Category 3N is described
below.