Check the Remote-Controlled Trailer Hitch for Wear
CAUTION:

LX1031444-UN-23SEP03
Straight-Sided Hitch Pin

LX1039100-UN-11JUL06
Ball-Shaped Hitch Pin
Parts that have reached or exceeded their wear limit must
be replaced with new parts.
Check diameters (a, b and c) of the hitch pin.
| Item | Measurement | Specification |
|
Straight-Sided Hitch Pin | Wear limit
or diameter (a) | min. 29 mm min. 1.14 in. |
|
Ball-Shaped Hitch Pin | Wear limit or
diameter (b) | min. 36.5 mm min. 1.44 in. |
|
Ball-Shaped Hitch Pin | Wear limit or
diameter (c) | min. 27 mm min. 1.06 in. |

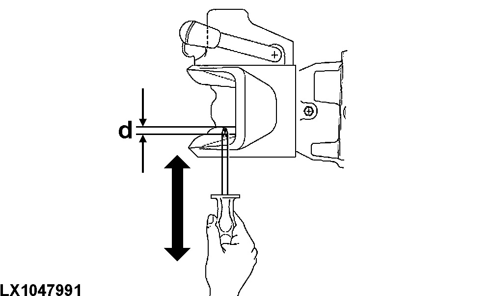
LX1047991-UN-23SEP09
Check vertical play (d) of the hitch pin.
| Item | Measurement | Specification |
|
Hitch Pin | Play | max. 2.5 mm max. 0.1 in. |

LX1031443-UN-23SEP03
Check diameter (c) of the receiver hole.
| Item | Measurement | Specification |
|
Bottom receiver hole (in direction of travel) | Wear limit or diameter | max. 34.0
mm (oval) max. 1.33 in. (oval) |

LX1047992-UN-23SEP09
Check thickness (e) of wear plate.
| Item | Measurement | Specification |
|
Wear Plate | Thickness | min. 6 mm min. 0.24 in. |
Check play in the bottom pin guide.
| Item | Measurement | Specification |
|
Pin in Bottom Pin Guide | Play | max. 2.5 mm max. 0.1 in. |
Check wear of hitch pin or bore.
| Item | Measurement | Specification |
|
Hitch Pin and Hole | Wear | max. 1.5 mm max. 0.06 in. |

LX1048787-UN-09DEC09
Determine play (f) between trailer hitch and receiver.
| Item | Measurement | Specification |
|
Trailer Hitch and Receiver | Play | max. 3.0 mm max. 0.12 in. |
|
|
LX24888,00005D3-19-20100830
|
|