Adjust the Pivoting Fenders

LX1038316-UN-08AUG06
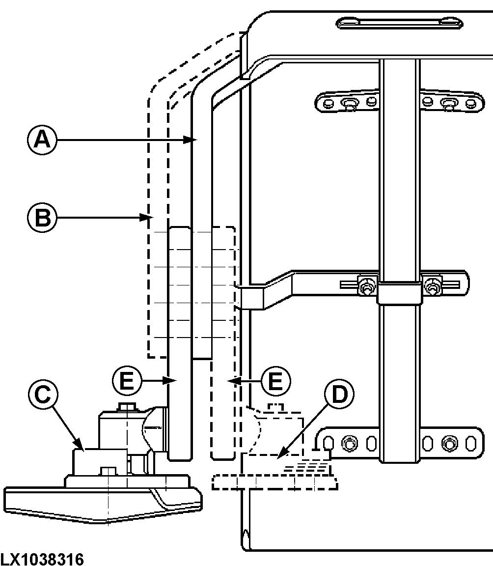
A - Support to Adjusting Arm (Wheel Side)
B - Support to Adjusting Arm (Tractor Side)
C - Pivot Plate (Tractor Side)
D - Pivot Plate (Wheel Side)
E - Adjusting Arm
The fenders may be adjusted individually. Several adjusting
positions are possible. Tilt, width and height of the fenders can
be adjusted depending on tire size. If the intention is to change
between positions C and D, turn the part around (do NOT install it
on the other side of the tractor). Then adjust the front-to-rear angle
of adjusting arm (E). To make the adjustment, follow this procedure:
-

LX1031619-UN-31MAY06

LX1033894-UN-11MAR04
Raise front of tractor so that the front wheel drive axle
can pivot freely.
-
Turn steering wheel in both directions and pivot the axle to
determine the most suitable fender mounting position.
-
Adjust fender position so that the minimum clearances (see illustration)
are met. There must not be any contact with the tractor frame.
A = 40 mm (1.57 in.)1, B = 60 mm (2.36 in.)1
-
Adjust fender stop to prevent it from being seized at the edges
with steering wheel fully turned and axle pivoting. Make sure that
the stop contacts the tractor frame before the fender can hit the
frame.
-

LX1031620-UN-24APR06
Also adjust the steering stops to make sure that neither
the wheel nor the fender come into contact with tractor components
(e.g. fuel tank).
Tighten the screws to the following torque values:

LX1033893-UN-11MAR04
A - Cap Screws, Support to Adjusting Arm
B - Cap Screw, Adjusting Arm to Joint
C - Cap Screws, Pivot Plate to Base
D - Hex. Socket Screws, Base to Knuckle Housing
|
Screws (A)..............
|
140 Nm (105 lb.-ft.)
|
|
Screw (B)..............
|
300 Nm (220 lb.-ft.)
|
|
Screws (C)..............
|
140 Nm (105 lb.-ft.)
|
|
Screws (D)..............
|
190 Nm (140 lb.-ft.)
|
|
1 Europe
only. In non-European countries, a minimum clearance of 25 mm (1.0
in.) is recommended.
|
OU12401,0001B80-19-20130110
|
|