Pre-Assembling the Pick-Up Weight
CAUTION: When performing the work described below, comply with
the safety instructions.
CAUTION: Equipment used to raise and transport the weight must
be capable of bearing at least 900 kg (1985 lb) or 1150 kg (2535 lb).
CAUTION: Use approved lifting equipment only.
CAUTION: Observe safety rules. Do not stand under suspended
loads.
NOTE: To facilitate the transport of the weight, it is a good
idea to pre-assemble it on a pallet. Make sure the bearing weight
of the pallet is sufficient.

LX013997-UN-02APR96
Use a hoist to lower the center weight (A) onto a level surface.
Arrange the side weights (B) alongside the center weight and
install bearing shaft (C).
Tighten nuts (D) to 300 Nm (220 lb-ft).
If attaching to a three-point hitch, adjust pins (E) to their
maximum lengths.

LX013999-UN-02APR96
If attaching the center weight only, install a spacer bushing
(A) at each end of the bearing shaft.
Tighten the nuts to 300 Nm (220 lb-ft).

LX012554-UN-27JUN96
When attaching to a 80 kg (175 lb) basic weight, install
a spacer (A) at both inner sides.
When attaching to a 110 kg (240 lb) basic weight, spacers are
not needed.
Insert the hex. socket screws (C) from the inner side and install
nuts (B).

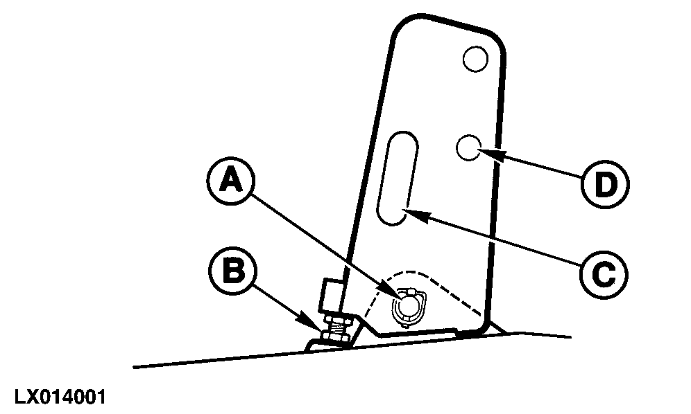
LX014001-UN-02APR96
If attaching to the three-point hitch, install the center
link bracket. Install and secure pin (A). Adjust the depth to which
screw (B) is screwed into the center link bracket until the screw
is in contact with the pick-up weight, and then counter-lock the screw.
The center link bracket has a recess (C) where the spacers can
be stored when not in use.
When the center link bracket is not in use, it can be folded
over and secured to the weight by means of hole (D).
|
|
OULXE59,0010880-19-20060416
|
|