Pysy etäällä pyörivistä akseleista

TS1644-UN-22AUG95

H96219-UN-29APR10
Takertuminen pyörivään akseliin voi aiheuttaa
vakavan tapaturman tai jopa kuoleman.
Pidä traktorin suojukset ja nivelakselien suojaputket aina
asennettuina paikoilleen. Varmistu, että pyörivä suojus
pyörii vapaasti.
Käytä työvaatteita, joissa ei ole löysiä
tai repeytyneitä kohtia. Sammuta moottori ja varmista, että
nivelakseli on pysähtynyt ennen asennusta, irrotusta, työkoneen
säätöä tai puhdistusta.
Älä asenna traktorin ja voimanottoon kytkettävän
työkoneen akselin väliin muunninlaitteita, joiden avulla
nopeuden 1000 r/min traktorin akseli voi käyttää nopeuden
540 r/min työkoneita nopeutta 540 r/min suuremmilla nopeuksilla.
Älä asenna muunninlaitteita, joiden seurauksena osa
pyörivästä työkoneen akselista, traktorin akselista
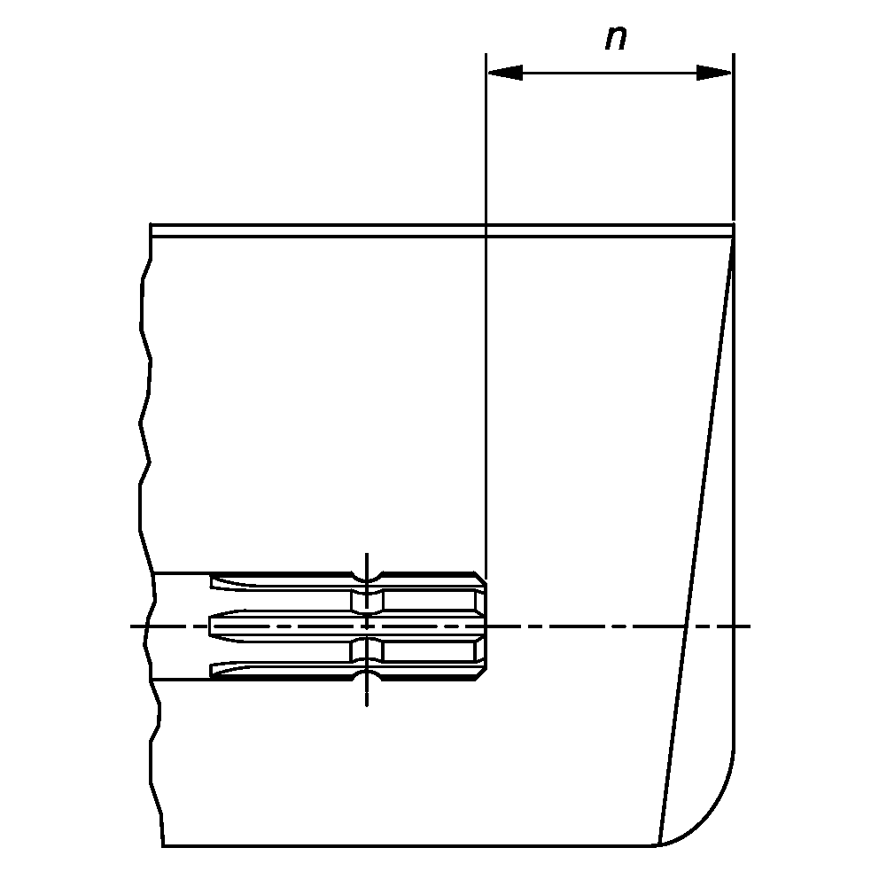
tai muunninkappaleesta jää suojaamattomaksi. Traktorin suojuksen
tulee peittää ura-akselin pää ja lisäksi
asennettu muunninlaite taulukon arvojen mukaisesti.
|
Voimanoton malli
|
Halkaisija
|
Uritus
|
n ± 5 mm (0.20 in.)
|
|
1
|
35 mm (1.378 in.)
|
6
|
85 mm (3.35 in.)
|
|
2
|
35 mm (1.378 in.)
|
21
|
85 mm (3.35 in.)
|
|
3
|
45 mm (1.772 in.)
|
20
|
100 mm (4.00 in.)
|
|