Kauko-ohjattavan vetolaitteen kulumisen tarkastus
HUOMIO:

LX1031444-UN-23SEP03
Suorasivuinen vetotappi

LX1039100-UN-11JUL06
Pallomainen vetotappi
Osat, jotka ovat kuluneet tai kulumassa loppuun, täytyy
vaihtaa uusiin.
Tarkasta vetotapin halkaisijat (a, b ja c).
| Kohde | Mittaus | Ohjepituus |
|
Suorasivuinen vetotappi | Kulumisraja
tai vähimmäishalkaisija (a) | vähintään
29 mm vähintään 1.14 in. |
|
Pallomainen vetotappi | Kulumisraja tai
vähimmäishalkaisija (b) | vähintään
36,5 mm vähintään 1.44 in. |
|
Pallomainen vetotappi | Kulumisraja tai
vähimmäishalkaisija (c) | vähintään
27 mm vähintään 1.06 in. |

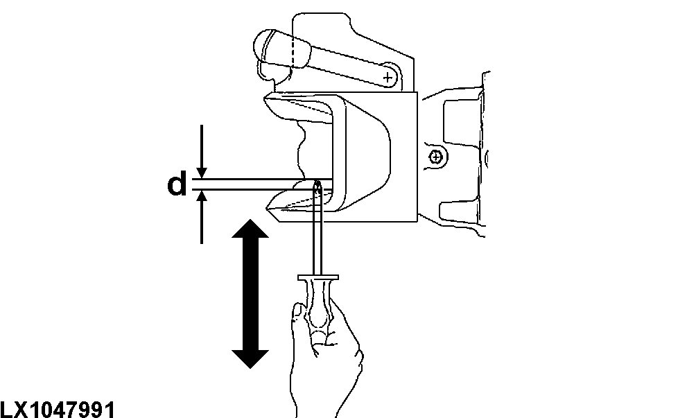
LX1047991-UN-23SEP09
Tarkasta vetotapin pystysuuntainen välys (d).
| Kohde | Mittaus | Ohjepituus |
|
Vetotappi | Välys | enintään 2,5 mm enintään 0.1 in. |

LX1031443-UN-23SEP03
Tarkasta vastakappaleen reiän halkaisija (c).
| Kohde | Mittaus | Ohjepituus |
|
Vastakappaleen reikä alhaalla (ajosuuntaan katsottuna)
| Kulumisraja tai vähimmäishalkaisija | enintään 34,0 mm (soikio) enintään 1.33 in. (soikio) |

LX1047992-UN-23SEP09
Tarkasta kulutuslevyn paksuus (e).
| Kohde | Mittaus | Ohjepituus |
|
Kulutuslevy | Paksuus | vähintään 6 mm vähintään 0.24 in. |
Tarkasta tapin alaohjaimen välys.
| Kohde | Mittaus | Ohjepituus |
|
Tappi alaohjaimessa | Välys | enintään 2,5 mm enintään 0.1 in. |
Tarkasta vetotapin tai porauksen kuluminen.
| Kohde | Mittaus | Ohjepituus |
|
Vetotappi ja reikä | Kuluminen | enintään 1,5 mm enintään 0.06 in. |

LX1048787-UN-09DEC09
Määritä vetolaitteen ja vastakappaleen välys
(f).
| Kohde | Mittaus | Ohjepituus |
|
Vetolaite ja vastakappale | Välys | enintään 3,0 mm enintään 0.12 in. |
|
|
LX24888,00005D3-22-20100830
|
|