Kiinteiden lokasuojien säätö

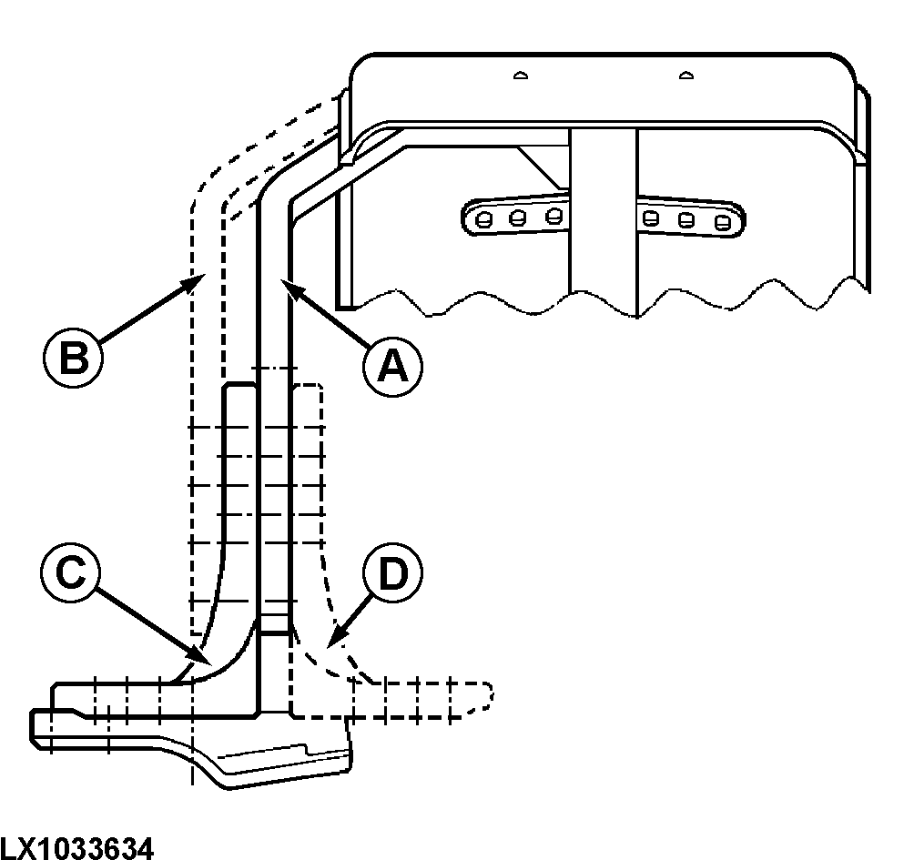
LX1033634-UN-08AUG06
A - Tuki pohjalevyyn (pyörän puoli)
B - Tuki pohjalevyyn (traktorin puoli)
C - Pohjalevy (traktorin puoli)
D - Pohjalevy (pyörän puoli)
Lokasuojia voidaan säätää erikseen. Mahdollisia
säätöasentoja on useita. Lokasuojien kallistusta, leveyttä
ja korkeutta voi säätää rengaskoon vaatimusten
mukaisesti. Toimi seuraavasti:
-

LX1031619-UN-31MAY06

LX1033894-UN-11MAR04
Nosta traktorin etupää ylös niin, että
etuvetoakseli pääsee kääntymään vapaasti.
-
Käännä ohjauspyörää kumpaankin
suuntaan ja käännä akselia lokasuojan sopivimman kiinnitysasennon
määrittämiseksi.
-
Säädä lokasuojan asentoa niin, että minimivälykset
(katso kuva) saavutetaan. Lokasuoja ei saa koskettaa traktorin runkoa.
A = 40 mm (1.57 in.)1, B = 60 mm (2.36 in.)1
-

LX1031620-UN-24APR06
Säädä myös kääntökulman
rajoittimet. Siten varmistat, että pyörä tai lokasuoja
ei pääse koskettamaan traktorin osia (esim. polttonestesäiliötä).
Kiristä ruuvit seuraaviin tiukkuuksiin:

LX1033635-UN-10MAY04
A - Ruuvit, tuki pohjalevyyn
B - Ruuvit, pohjalevy alustaan
C - Kuusiokoloruuvi, alusta olka-akseliin
|
Ruuvit (A)..............
|
140 N˙m (105 lb.-ft.)
|
|
Ruuvit (B)..............
|
140 N˙m (105 lb.-ft.)
|
|
Ruuvit (C)..............
|
190 N˙m (140 lb.-ft.)
|
|
1 Vain Eurooppa.
Euroopan ulkopuolelle tarkoitetuissa malleissa suositeltava vähimmäisvälys
on 25 mm (1.0 in.).
|
OU12401,0001B7F-22-20130110
|
|