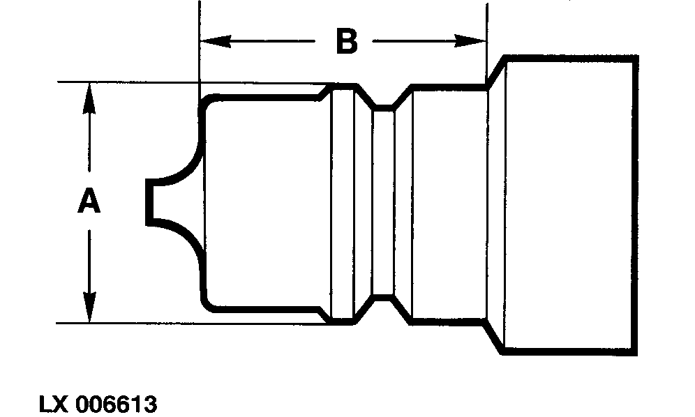
Ulosottoventtiilit - Letkuliittimet

LX006613
LX006613-UN-15AUG94


Letkuliitinten tulee olla ISO-standardien mukaisia.

Välin (A) on oltava 23,66 - 23,74 mm (0.931 - 0.934 in.).

Välin (B) on oltava vähintään 24 mm (0.945 in.).

OULXA64,00026CC-22-20110121