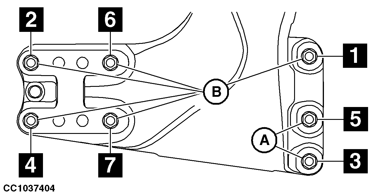
Etukuormaimen pidike - Ruuvien kiristys, kuormaimet H360 ja H380

CC1037404
CC1037404-UN-20FEB12


Kiristä ruuvit (A) kireyteen 620 N.m (457 lb.-ft.) ja ruuvit (B) kireyteen 580 N.m (428 lb.-ft.). Noudata annettua kiristysjärjestystä.

OULXA64,0002D68-22-20121217