Lisäpainoyksikön kokoaminen
HUOMIO: Noudata turvallisuusohjeita suorittaessasi alla kuvattuja
toimenpiteitä.
HUOMIO: Painojen nostamiseen ja kuljetukseen käytettävien
laitteiden nostokapasiteetin on oltava vähintään 900
kg (1985 lb) tai 1150 kg (2535 lb).
HUOMIO: Käytä vain sallittuja nostolaitteita.
HUOMIO: Noudata turvallisuusmääräyksiä.
Älä seiso nostettujen kuormien alla.
HUOMAA: Painon kuljettaminen helpottuu, kun kokoat sen etukäteen
lavalle. Varmista, että lavan kantokyky on riittävä.

LX013997-UN-02APR96
Laske keskipaino (A) nostolaitteella tasaiselle alustalle.
Aseta reunapainot (B) keskipainon molemmille puolille ja työnnä
tanko (C) painojen läpi.
Kiristä mutterit (D) kireyteen 300 Nm (220 lb-ft).
Säädä tapit (E) ääriasentoonsa kolmipistenostolaitetta
kiinnitettäessä.

LX013999-UN-02APR96
Asenna keskipainon sivuille väliholkit (A), jos sivupainoja
ei käytetä.
Kiristä mutterit kireyteen 300 Nm (220 lb-ft).

LX012554-UN-27JUN96
Asenna painoyksikön sisäpuolelle väliholkit
(A), kun se asennetaan 80 kg:n (175 lb) peruspainoon.
Väliholkkeja ei tarvita, kun se asennetaan 110 kg:n (240
lb) peruspainoon.
Kiinnitä väliholkit sisäpuolelta kuusiokoloruuveilla
(C) ja asenna mutterit (B).

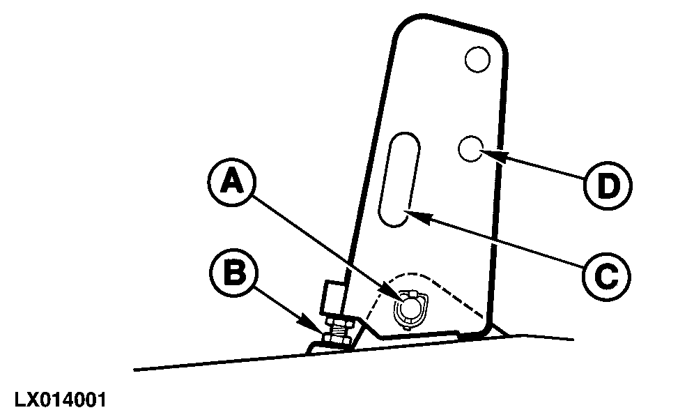
LX014001-UN-02APR96
Asenna keskitangon pidike kolmipistenostolaitetta säädettäessä.
Työnnä kiinnitintappi (A) paikalleen ja lukitse se. Säädä
ruuvaussyvyys, jossa ruuvi (B) koskettaa lisäpainoyksikköä
ruuvattaessa keskitangon pidikkeeseen. Lukitse ruuvi.
Painoyksikön väliholkit voi säilyttää
keskitangon pidikkeen syvennyksessä (C).
Kun keskitangon pidike ei ole käytössä, käännä
se painoyksikköä vasten ja lukitse reiän (D) avulla.
|
|
OULXE59,0010880-22-20060416
|
|