Vorsicht bei sich drehenden Antriebswellen

TS1644-UN-22AUG95

H96219-UN-29APR10
Beim Verfangen in sich drehenden Antriebswellen kann es zu schweren
oder tödlichen Verletzungen kommen.
Alle Schutzvorrichtungen müssen in Ordnung und an der betreffenden
Stelle richtig angebracht sein. Sich vergewissern, dass das Wellenschutzrohr
frei drehen kann.
Eng anliegende Kleidung tragen. Den Motor abstellen und sicherstellen,
dass die Antriebswelle der Zapfwelle zum Stillstand gekommen ist,
bevor Einstellungen, Anschlüsse oder die Reinigung von Geräten,
die von der Zapfwelle angetrieben werden, vorgenommen werden.
Zwischen Zapfwelle des Traktors und Antriebswelle des Anbaugeräts
keinen Adapter anbringen, der den Antrieb eines für 540 1/min
ausgelegten Anbaugeräts mit mehr als 540 1/min durch eine für
1000 1/min ausgelegte Zapfwelle ermöglicht.
Keinen Adapter anschließen, der bewirkt, dass ein Teil
der sich drehenden Antriebswelle des Anbaugeräts, der Zapfwelle
des Traktors oder des Adapters ungeschützt ist. Die Schutzvorrichtung
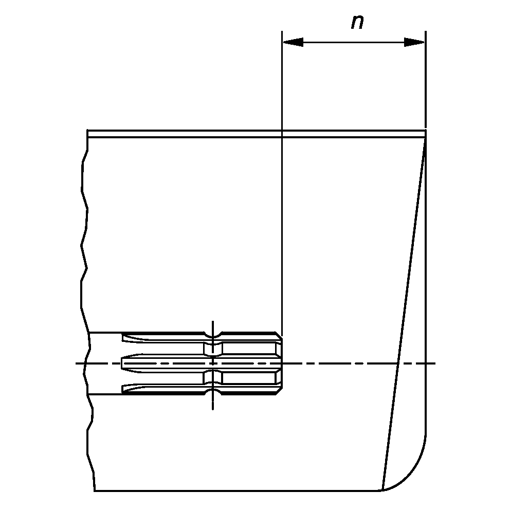
des Traktors muss das Ende der verzahnten Welle und den aufgesteckten
Adapter wie in der Tabelle angegeben überdecken.
|
Zapfwellentyp
|
Durchmesser
|
Verzahnung
|
n ± 5 mm (0.20 in.)
|
|
1
|
35 mm (1.378 in.)
|
6
|
85 mm (3.35 in.)
|
|
2
|
35 mm (1.378 in.)
|
21
|
85 mm (3.35 in.)
|
|
3
|
45 mm (1.772 in.)
|
20
|
100 mm (4.00 in.)
|
|