Anhängekupplung (fernbedienbar) auf Verschleiß prüfen

ACHTUNG:

LX1031444
LX1031444-UN-23SEP03

Kupplungsbolzen, zylindrische Form

LX1039100
LX1039100-UN-11JUL06

Kupplungsbolzen, ballige Form

Teile, die die Verschleißgrenze erreichen bzw. überschritten haben, müssen ausgetauscht werden.

Durchmesser (a, b und c) des Kupplungsbolzens prüfen.

PrüfpunktMaßSpezifikation
Kupplungsbolzen, zylindrische FormVerschleißgrenze bzw. Durchmesser (a)min. 29 mm min. 1.14 in.
Kupplungsbolzen, ballige FormVerschleißgrenze bzw. Durchmesser (b)min. 36,5 mm min. 1.44 in.
Kupplungsbolzen, ballige FormVerschleißgrenze bzw. Durchmesser (c)min. 27 mm min. 1.06 in.

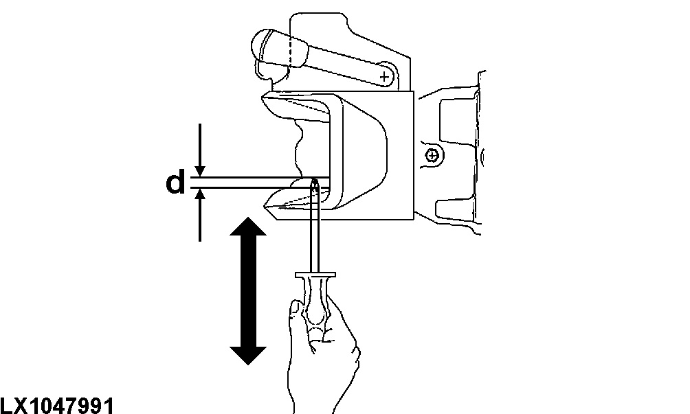
LX1047991
LX1047991-UN-23SEP09

Höhenspiel (d) des Kupplungsbolzens überprüfen.

PrüfpunktMaßSpezifikation
KupplungsbolzenSpielmax. 2,5 mm max. 0.1 in.

LX1031443
LX1031443-UN-23SEP03

Durchmesser (c) der Aufnahmebohrung prüfen.

PrüfpunktMaßSpezifikation
Aufnahmebohrung (unten in Fahrtrichtung)Verschleißgrenze bzw. Durchmessermax. 34,0 mm (oval) max. 1.33 in. (oval)

LX1047992
LX1047992-UN-23SEP09

Materialstärke (e) der Verschleißplatte prüfen.

PrüfpunktMaßSpezifikation
VerschleißplatteMaterialstärkemin. 6 mm min. 0.24 in.

Spiel in der unteren Bolzenführung prüfen.

PrüfpunktMaßSpezifikation
Bolzen in der unteren BolzenführungSpielmax. 2,5 mm max. 0.1 in.

Verschleiß des Kupplungsbolzens oder der Bohrung prüfen.

PrüfpunktMaßSpezifikation
Kupplungsbolzen und BohrungVerschleißmax. 1,5 mm max. 0.06 in.

LX1048787
LX1048787-UN-09DEC09

Spiel (f) zwischen Kupplung und Aufnahme ermitteln.

PrüfpunktMaßSpezifikation
Kupplung und AufnahmeSpielmax. 3,0 mm max. 0.12 in.

LX24888,00005D3-29-20100830