Vorderachse zweiteilig — Starre Kotflügel einstellen

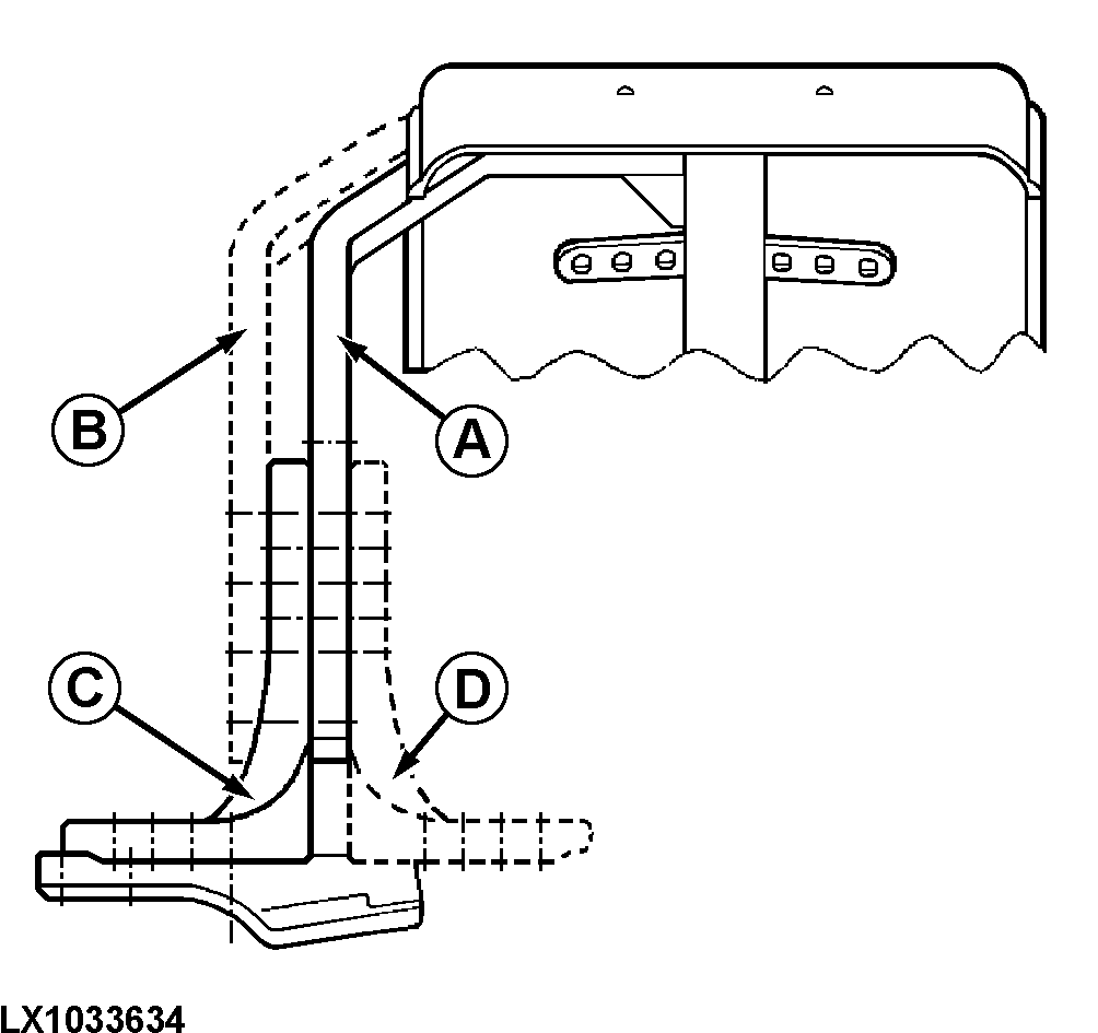
LX1033634-UN-08AUG06
A - Bügel an Grundplatte (Radseite)
B - Bügel an Grundplatte (Traktorseite)
C - Grundplatte zur Traktorseite
D - Grundplatte zur Radseite
Die Vielzahl der Verstellmöglichkeiten läßt
eine individuelle Einstellung der Kotflügel zu. Abhängig
von der Bereifung können die Kotflügel in Neigung, Weite
und Höhe eingestellt werden. Hierbei folgende Arbeitsschritte
durchführen:
-

LX1031619-UN-31MAY06

LX1033894-UN-11MAR04
Traktor vorne so weit anheben, dass die Frontantriebsachse
vollständig gependelt werden kann.
-
Lenkung in beide Richtungen voll einschlagen und Achse in beide
Richtungen bis zum Anschlag pendeln, um die günstigste Anbauposition
für die Kotflügel zu ermitteln.
-
Position des Kotflügels so einstellen, dass die gezeigten
Mindestabstände eingehalten werden, ohne dass es zur Berührung
mit dem Traktorrahmen kommt.
A = 40 mm (1.57 in.)1, B = 60 mm (2.36
in.)1
WICHTIG: Werden auf die Reifen Schneeketten montiert, muss
der Mindestabstand von den Reifen zu den Kotflügeln (axial und
radial) 100 mm (3.94 in.) betragen.
-

LX1031620-UN-24APR06
Unbedingt zusätzlich den Lenkanschlag so einstellen,
dass eine Berührung des Rades oder des Kotflügels mit Traktorkomponenten
(z.B. dem Tank) verhindert wird.
WICHTIG: Siehe zusätzlich in diesem Abschnitt: • “Vorderachse zweiteilig — Hinweise zu Einstellungen
der Kotflügel”
• “Vorderachse zweiteilig — Hinweise zu Lenkanschlag
einstellen”
-
Schrauben mit folgenden Drehmomenten festziehen:

LX1033635-UN-10MAY04
A - Sechskantschrauben, Bügel an Grundplatte
B - Sechskantschrauben, Grundplatte an Sockel
C - Innensechskantschrauben, Sockel an Achsschenkelgehäuse
|
Schrauben (A)..............
|
140 Nm (105 lb.-ft.)
|
|
Schrauben (B)..............
|
140 Nm (105 lb.-ft.)
|
|
Schrauben (C)..............
|
190 Nm (140 lb.-ft.)
|
|
1 Nur für
Europa. In nicht europäischen Ländern wird ein Mindestabstand
von 25 mm (1,0 in.) empfohlen.
|
OULXA64,000375B-29-20150723
|
|