Rear Wheel Tread Adjustment - Rack-and-Pinion Axle (Tractor
6140M)
IMPORTANT: Comply with tread adjustment instructions, and tighten
wheel bolts. See Tighten Rear Wheel Bolts (with
Rack-and-Pinion Axle).
IMPORTANT: After adjusting tread, check that the wheels can
turn freely. Do NOT let tires come into contact with
draft links or lift links. The gap between lift links and tires can
be increased by installing the lift links in the front holes of the
draft links.
When draft links are raised (even if no implement is attached),
the hydraulic or mechanical stabilizer bars must be locked.
If there is still contact with the draft links or lift links
despite all these measures, tread width must be increased.
NOTE: In certain countries, overall vehicle width for driving
on public roads must not exceed 2.55 m (100 in.).
NOTE: The tread widths shown here apply for the long rack-and-pinion
axle. For maximum tread width with medium-sized and short
rack-and-pinion axles, the following values must be subtracted:
• Medium-sized rack-and-pinion axles: 206 mm (8.11 in.)
• Short rack-and-pinion axles: 462 mm (18.19 in.)

LX1056800-UN-29OCT12
Rear wheel tread adjustment - Rack-and-pinion axle
| |
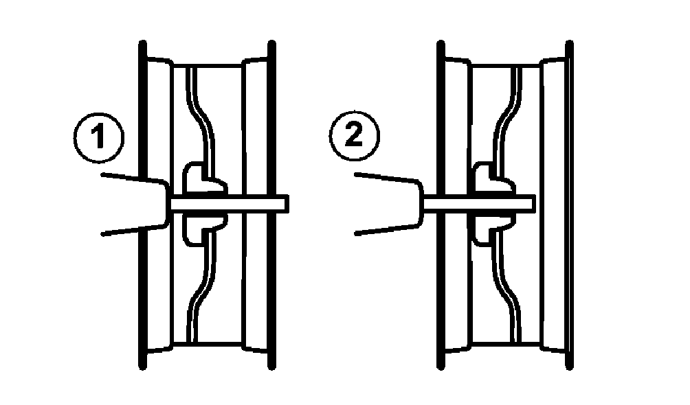
Wheel tread adjustment (rear wheels with cast wheel)
Arrangement of rim and wheel dish
|
|
|
Wheel tread adjustment (rear wheels with cast wheel)
Arrangement of rim and wheel dish
|
|
Tires:
|
Minimum (1)
|
Maximum (2)
|
|
Tires:
|
Minimum (1)
|
Maximum (2)
|
|
16.9R38
|
1596 mm
|
2723 mm*
|
|
460/85R38
|
1596 mm
|
2723 mm*
|
|
(62.83 in.)
|
(107.20 in.)*
|
|
(62.83 in.)
|
(107.20 in.)*
|
|
|
18.4R38
|
1596 mm
|
2723 mm*
|
|
480/70R38
|
1596 mm
|
2723 mm*
|
|
(62.83 in.)
|
(107.20 in.)*
|
|
(62.83 in.)
|
(107.20 in.)*
|
|
|
420/85R38
|
1596 mm
|
2723 mm*
|
|
540/65R38
|
1658 mm
|
2723 mm*
|
|
(62.83 in.)
|
(107.20 in.)*
|
|
(65.28 in.)
|
(107.20 in.)*
|
* Overall vehicle width exceeds 2.55 m; comply
with local traffic regulations.
| |
Track width adjustment (for rear wheels with steel wheel on
cast hub)
Arrangement of rim and wheel dish
|
|
|
Track width adjustment (for rear wheels with steel wheel on
cast hub)
Arrangement of rim and wheel dish
|
|
Tires:
|
Minimum (1)
|
Maximum (2)
|
|
Tires:
|
Minimum (1)
|
Maximum (2)
|
|
16.9R38
|
1576 mm
|
2743 mm*
|
|
460/85R38
|
1576 mm
|
2743 mm*
|
|
(62.05 in.)
|
(107.99 in.)*
|
|
(62.05 in.)
|
(107.99 in.)*
|
|
|
18.4R38
|
1584 mm
|
2743 mm*
|
|
480/70R38
|
1583 mm
|
2743 mm*
|
|
(62.36 in.)
|
(107.99 in.)*
|
|
(62.32 in.)
|
(107.99 in.)*
|
|
|
320/90R54
|
1415 mm
|
2967 mm*
|
|
540/65R38
|
1658 mm
|
2743 mm*
|
|
(55.71 in.)
|
(116.81 in.)*
|
|
(65.28 in.)
|
(107.99 in.)*
|
|
|
420/85R38
|
1576 mm
|
2743 mm*
|
|
|
|
|
|
(62.05 in.)
|
(107.99 in.)*
|
|
|
|
|
* Overall vehicle width exceeds 2.55 m; comply
with local traffic regulations.
|
|
OULXA64,0002CA6-19-20140408
|
|