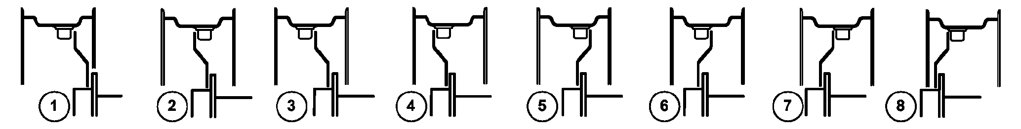
Front-Wheel Tread Adjustment with Rims for 8 Positions - 6140M
Tractor

LX1056921-UN-21AUG13
| |
Tread width setting on delivery
|
Tread width setting (front wheels)
Arrangement of rim and wheel dish
|
|
Tires:
|
1
|
2
|
3
|
4
|
5
|
6
|
7
|
8
|
|
320/85R34 -R1
|
1812 mm
|
2120 mm
|
2016 mm
|
1916 mm
|
1812 mm
|
1720 mm
|
1616 mm
|
1516 mm
|
1412 mm*
|
|
(71.34 in.)
|
(83.46 in.)
|
(79.37 in.)
|
(75.43 in.)
|
(71.34 in.)
|
(67.72 in.)
|
(63.62 in.)
|
(59.68 in.)
|
(55.59 in.)*
|
|
|
* With AL180127 steering stop only
** Overall vehicle width exceeds 2.55 m; comply with local traffic
regulations.
|

LX1056914-UN-27JUN13
* With AL180127 steering stop only
IMPORTANT: Comply with instructions on front-wheel tread adjustment
with rims for 8 positions.
NOTE: In certain countries, overall vehicle width for driving
on public roads must not exceed 2.55 m (100 in.).
|
|
OULXA64,0002CC0-19-20140408
|
|