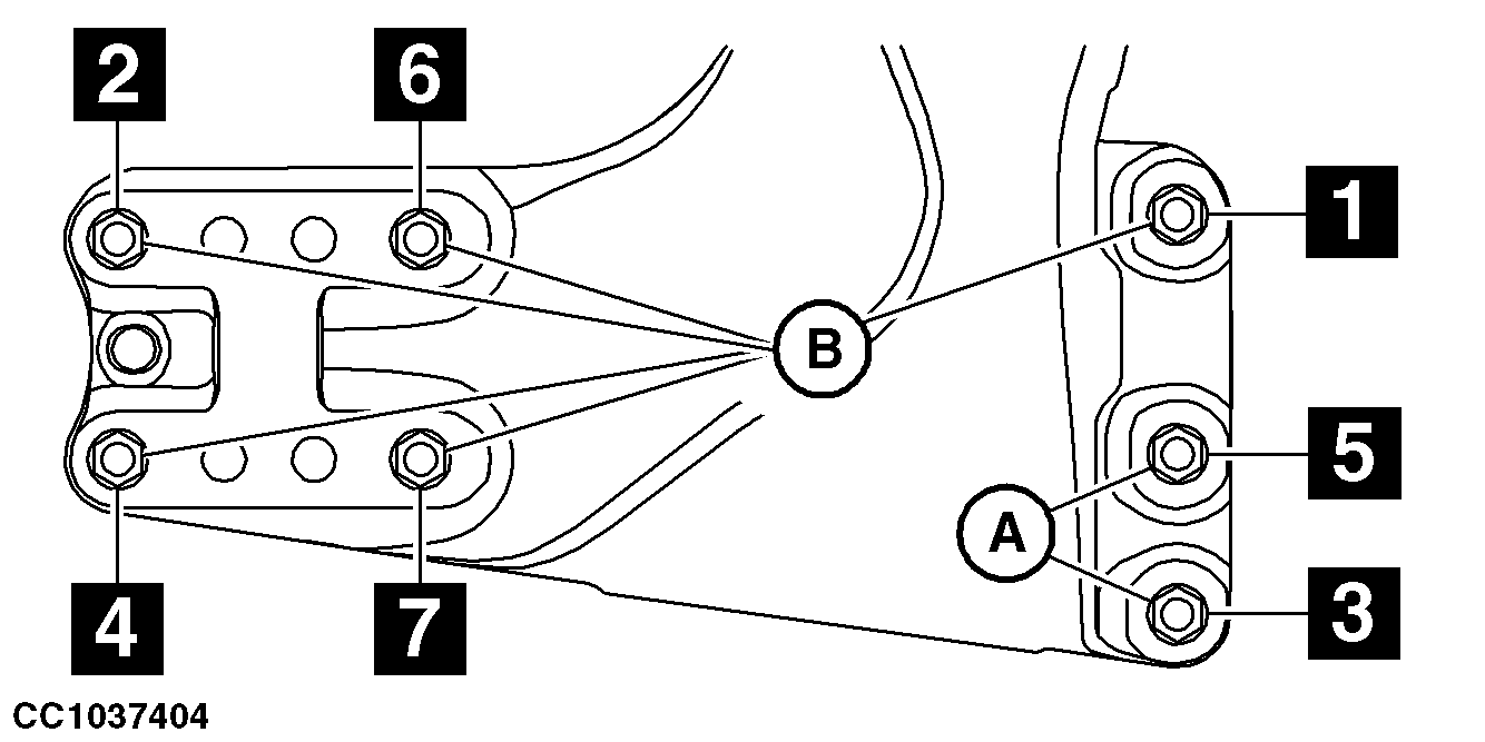
Front Loader Bracket - Tighten Screws on H360 and H380 Loaders

CC1037404
CC1037404-UN-20FEB12


Tighten screws (A) to 620 N.m (457 lb.-ft.) and screws (B) to 580 N.m (428 lb.-ft.). Comply with the specified tightening sequence.

OULXA64,0002D68-19-20121217