Rear Wheel Tread Adjustment (with Rack-and-Pinion Axles) - (6105M
to 6125M only)
Rear wheel adjustment

L102691-UN-13APR00
NOTE: Adjustment of wheels is only possible when not more than
two weights are attached to each wheel.
-
Clean the axle with a wire brush.
-
Jack up tractor and turn rear wheel so that rack on axle faces
upward.
-
Loosen the attaching bolts completely.
-
Tighten the jack screws until the screw heads are flush against
the face of the wheel hub.
NOTE: If the wheel hub does not come loose, also slacken off
the three screws on the back of the wheel disk. If this does not work,
strike the end of the axle several times with a heavy hammer and once
again tighten the jack screws evenly. It helps to soak the hub-halves
in penetrating oil.
-
Turn adjusting screw in or out until desired position is reached.
-
Back jack screws all the way out against stop, but do not use
force. No force should be used.
-
Lubricate threads and retighten attaching bolts alternately
to 400 Nm (300 lb.-ft.). When the attaching bolts are tightened to
specified torque, the jack screws should be free to turn; if this
is not the case, loosen jack screws and retighten attaching screws
to specified torque.
-
After completing wheel tread adjustment, make sure that tires
and wheel ballast weights do not rub against the tractor. Then drive
the tractor approx. 50 m (160 ft.), stop the tractor and retighten
attaching bolts to 400 N∙m (300 lb.-ft.). The bolts must be retightened
to torque after 4 hours, after 8 hours and several times within the
next 100 hours. See "Break-In Period".
IMPORTANT: The distance between the side wall of the tire and
the fender must not be less than 40 mm (1.57 in.)1. The distance between the running surface (edge) of the tire
and the fender must not be less than 60 mm (2.36 in.)1.
If snow chains are installed on the tires, the minimum distance
from the tires to the fenders (side wall to fender and running surface
to fender) must be 100 mm (3.94 in.).
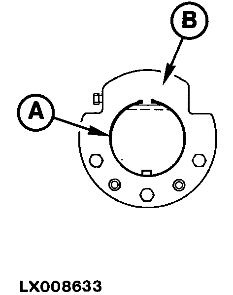
Turn wheel hub (pinion inside)

LX008633-UN-16AUG94

LX008634-UN-16AUG94
For loosening, adjusting and tightening wheel hub, see previous
page.
-
To facilitate assembly, remove rear wheel.
-
Remove snap ring (A). Turn adjusting screw so that wheel hub
(B) is at maximum width. Remove wheel hub (B).
-
Put wheel on axle at desired position. Turn wheel hub (B) around
and install it.
-
Install wheel and snap ring (A). For further assembly, see previous
page.
IMPORTANT: The distance between the side wall of the tire and
the fender must not be less than 40 mm (1.57 in.)1. The distance between the running surface (edge) of the tire
and the fender must not be less than 60 mm (2.36 in.)1.
If snow chains are installed on the tires, the minimum distance
from the tires to the fenders (side wall to fender and running surface
to fender) must be 100 mm (3.94 in.).
|
1 Europe only. In non-European countries, a minimum
clearance of 25 mm (1.0 in.) is recommended.
|
OULXA64,0002D92-19-20140408
|
|