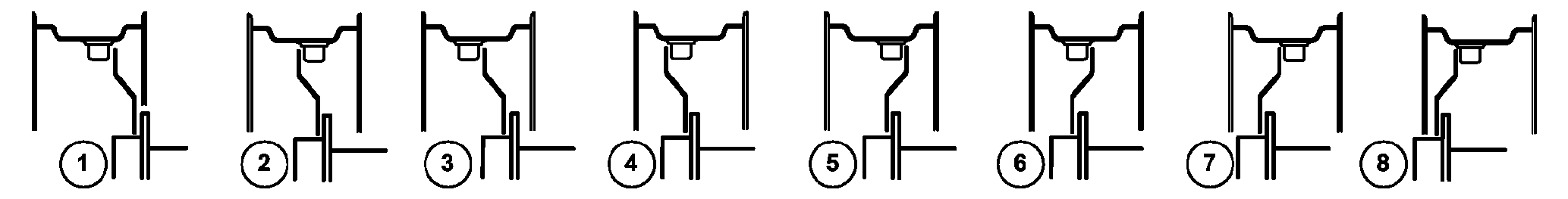
Vorderachse zweiteilig — Spurweiten bei Vorderrädern
mit Felgen für 8 Positionen - Traktor 6170M

LX1057502-UN-26MAY15
Vorderachse zweiteilig
WICHTIG: Hinweise zur Spurverstellung bei Vorderrädern
mit Felgen für 2 Positionen beachten.
WICHTIG: Nachfolgende Tabellen sind nur gültig für
Räder deren Felgen serienmäßig verfügbar sind.
Abweichende Felgen haben unter Umständen eine abweichende Einpresstiefe.
Dieses führt dazu, dass die in den Tabellen gezeigten Werte NICHT
zutreffend sind.
WICHTIG: Nach dem Spureinstellen müssen die Kotflügel
und der Lenkanschlag eingestellt werden. Danach die Vorderachse bei
voll eingeschlagener Lenkung durchpendeln. Bei Berührungen der
Räder oder Kotflügel mit Traktorkomponenten den Lenkanschlag
korrigieren. Siehe “Vorderachse zweiteilig —
Drehbare Kotflügel und Lenkanschlag einstellen - Vorderachse
750” und “Berührungen von Vorderrad oder Kotflügel
mit Traktorkomponenten vermeiden”, in diesem Abschnitt.
HINWEIS: In einigen Ländern darf bei Straßenfahrt eine
Gesamtbreite des Fahrzeuges von 2,55 m (100 in.) nicht überschritten
werden.

LX1056921-UN-21AUG13
| |
|
Spurweite bei Auslieferung
|
Spurweiteneinstellung (Vorderräder)
Anordnung von Felge und Radschüssel
|
|
Bereifung:
|
|
1
|
2
|
3
|
4
|
5
|
6
|
7
|
8
|
|
16.9R30
|
mm
|
1916
|
2120**
|
2016
|
1916
|
1812
|
1720
|
1616
|
1516*
|
1412*
|
|
(in.)
|
(75.43)
|
(83.46)**
|
(79.37)
|
(75.43)
|
(71.34)
|
(67.72)
|
(63.62)
|
(59.68)*
|
(55.59)*
|
|
|
420/85R30
|
mm
|
1916
|
2120**
|
2016
|
1916
|
1812
|
1720
|
1616
|
1516*
|
1412*
|
|
(in.)
|
(75.43)
|
(83.46)**
|
(79.37)
|
(75.43)
|
(71.34)
|
(67.72)
|
(63.62)
|
(59.68)*
|
(55.59)*
|
|
|
480/70R30
|
mm
|
1916
|
2120**
|
2016**
|
1916
|
1812
|
1720
|
1616
|
1516*
|
1412*
|
|
(in.)
|
(75.43)
|
(83.46)**
|
(79.37)**
|
(75.43)
|
(71.34)
|
(67.72)
|
(63.62)
|
(59.68)*
|
(55.59)*
|
|
|
540/65R30
|
mm
|
1916
|
2120**
|
2016**
|
1916
|
1812
|
1720
|
1616*
|
1516*
|
1412*
|
|
(in.)
|
(75.43)
|
(83.46)**
|
(79.37)**
|
(75.43)
|
(71.34)
|
(67.72)
|
(63.62)*
|
(59.68)*
|
(55.59)*
|
|
|
600/65R28
|
mm
|
1880
|
2156**
|
2052**
|
1880
|
1776
|
1756
|
1652*
|
1480*
|
1376*
|
|
(in.)
|
(74.02)
|
(84.88)**
|
(80.79)**
|
(74.02)
|
(69.92)
|
(69.13)
|
(65.04)*
|
(58.27)*
|
(54.17)*
|
|
|
* Spurweite und Einstellung des Lenkanschlags nur mit Lenkanschlag
AL180127 möglich. Siehe zusätzlich “Vorderachse zweiteilig
—Drehbare Kotflügel und Lenkanschlag einstellen”
der entsprechenden Vorderachse.
** Gesamtbreite des Fahrzeuges größer 2,55 m, die
regionale Straßenverkehrszulassungsordnung ist zu beachten.
|
|
|
OULXA64,0002C0A-29-20151007
|
|