Frontlader-Anbaurahmen für Lader 640R/643R, 660R/663R und
680R/683R

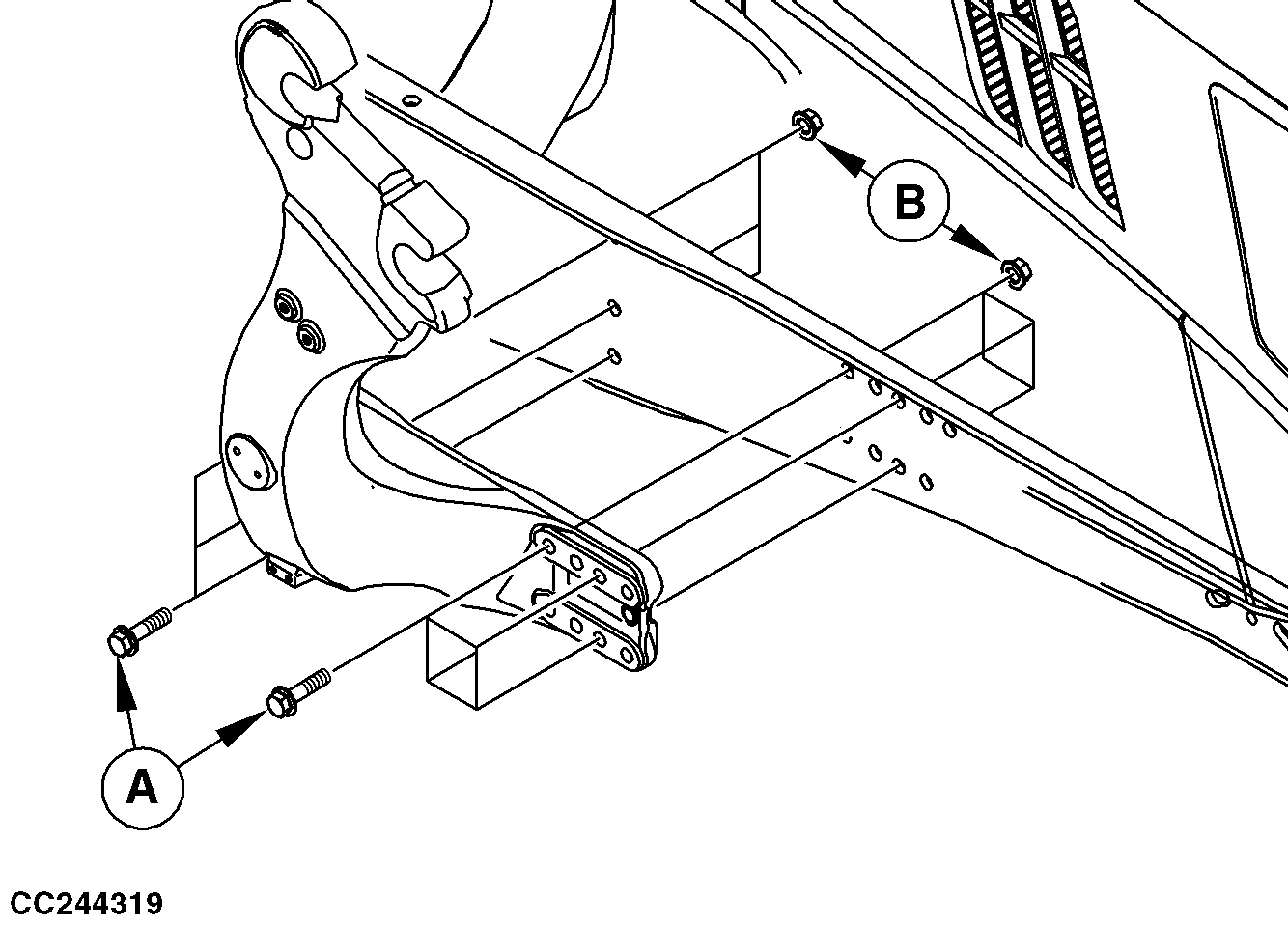
CC244319-UN-04JUN15
|
Befestigungsteile von John Deere™ Frontlader-Anbaurahmen
|
|
Pos.
|
Benennung
|
Norm
|
Abmaße
|
Kennzeichnung / Materialgüte
|
Beschichtung
|
|
(A)
|
Sechskantschraube mit Flansch
|
JDS121
|
M20 x 2,5 x 80
|
10.9
|
Zink
|
|
(B)
|
Sechskantmutter mit Flansch
|
ISO4161
|
M20 x 2,5
|
10
|
Zink
|
WICHTIG: Von John Deere™ wird ein geprüfter Frontlader
freigegeben und zum Verkauf angeboten. Bei Anbau der
John Deere™ Frontlader-Anbaurahmen dürfen nur geeignete
Befestigungselemente verwendet werden, wie in obiger Abbildung gezeigt.
Drehmomente der Befestigungsschrauben in regelmäßigen
Abständen prüfen. Informationen der Betriebs- und Anbauanleitung
zur Wartung des Frontladers beachten.
| Prüfpunkt | Maß | Spezifikation |
|
Sechskantschraube mit Flansch
| Drehmoment | 620 N·m
(457 lb.-ft.) |
|
|
OULXA64,0003811-29-20150724
|
|