Two-Piece Front Axle — Tread Widths for Front Wheels with
Rims for 8 Positions - Tractor 6170M

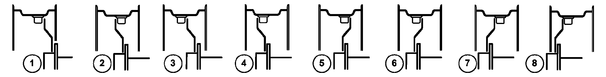
LX1057502-UN-26MAY15
Two-Piece Front Axle
IMPORTANT: Comply with instructions on front-wheel tread adjustment
with rims for 2 positions.
IMPORTANT: The following tables apply only for wheels that have
standard rims. Non-standard rims may be pressed in to different depths.
In consequence, the values shown in the tables will NOT be valid.
IMPORTANT: After setting the tread, the fender and the steering
stop need to be adjusted. Afterwards oscillate the front axle with
fully turned steering. If the wheels or fenders contact tractor components,
correct the steering stop. See “Two-Piece Front
Axle — Adjust the Pivoting Fenders and Steering Stop - Front
Axle 750” and “Preventing Front Wheel or Fender Contact
with Tractor Components” in this Section.
NOTE: In certain countries, overall vehicle width for driving
on public roads must not exceed 2.55 m (100 in.).

LX1056921-UN-21AUG13
| |
|
Tread width setting on delivery
|
Tread width setting (front wheels)
Arrangement of rim and wheel dish
|
|
Tires:
|
|
1
|
2
|
3
|
4
|
5
|
6
|
7
|
8
|
|
16.9R30
|
mm
|
1916
|
2120**
|
2016
|
1916
|
1812
|
1720
|
1616
|
1516*
|
1412*
|
|
(in.)
|
(75.43)
|
(83.46)**
|
(79.37)
|
(75.43)
|
(71.34)
|
(67.72)
|
(63.62)
|
(59.68)*
|
(55.59)*
|
|
|
420/85R30
|
mm
|
1916
|
2120**
|
2016
|
1916
|
1812
|
1720
|
1616
|
1516*
|
1412*
|
|
(in.)
|
(75.43)
|
(83.46)**
|
(79.37)
|
(75.43)
|
(71.34)
|
(67.72)
|
(63.62)
|
(59.68)*
|
(55.59)*
|
|
|
480/70R30
|
mm
|
1916
|
2120**
|
2016**
|
1916
|
1812
|
1720
|
1616
|
1516*
|
1412*
|
|
(in.)
|
(75.43)
|
(83.46)**
|
(79.37)**
|
(75.43)
|
(71.34)
|
(67.72)
|
(63.62)
|
(59.68)*
|
(55.59)*
|
|
|
540/65R30
|
mm
|
1916
|
2120**
|
2016**
|
1916
|
1812
|
1720
|
1616*
|
1516*
|
1412*
|
|
(in.)
|
(75.43)
|
(83.46)**
|
(79.37)**
|
(75.43)
|
(71.34)
|
(67.72)
|
(63.62)*
|
(59.68)*
|
(55.59)*
|
|
|
600/65R28
|
mm
|
1880
|
2156**
|
2052**
|
1880
|
1776
|
1756
|
1652*
|
1480*
|
1376*
|
|
(in.)
|
(74.02)
|
(84.88)**
|
(80.79)**
|
(74.02)
|
(69.92)
|
(69.13)
|
(65.04)*
|
(58.27)*
|
(54.17)*
|
|
|
* Tread width and adjustment of the steering stop is possible
only with steering stop AL180127. See also “Two-Piece Front
Axle — Adjust the Pivoting Fenders and Steering Stop”
for the relevant front axle.
** Total vehicle width larger than 2.55 m (100 in.); the regional
road traffic licensing regulations must be observed.
|
|
|
OULXA64,0002C0A-19-20151007
|
|