Kotflügel einstellen (starre Kotflügel)

LX1033634-UN-08AUG06
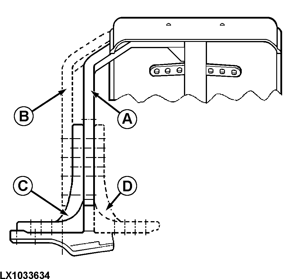
A - Bügel an Grundplatte (Radseite)
B - Bügel an Grundplatte (Traktorseite)
C - Grundplatte zur Traktorseite
D - Grundplatte zur Radseite
Die Vielzahl der Verstellmöglichkeiten läßt
eine individuelle Einstellung der Kotflügel zu. Abhängig
von der Bereifung können die Kotflügel in Neigung, Weite
und Höhe eingestellt werden. Hierbei folgende Arbeitsschritte
durchführen:
-

LX1031619-UN-31MAY06

LX1033894-UN-11MAR04
Traktor vorne so weit anheben, dass die Frontantriebsachse
vollständig gependelt werden kann.
-
Lenkung in beide Richtungen einschlagen und Achse pendeln, um
die günstigste Anbauposition für die Kotflügel zu ermitteln.
-
Position des Kotflügels so einstellen, dass die gezeigten
Mindestabstände eingehalten werden, ohne dass es zur Berührung
mit dem Traktorrahmen kommt.
A = 40 mm (1.57 in.)1, B = 60 mm (2.36
in.)1
-

LX1031620-UN-24APR06
Unbedingt zusätzlich den Lenkanschlag so einstellen,
dass eine Berührung des Rades oder des Kotflügels mit Traktorkomponenten
(z.B. dem Tank) verhindert wird.
Schrauben mit folgenden Drehmomenten festziehen:

LX1033635-UN-10MAY04
A - Sechskantschrauben, Bügel an Grundplatte
B - Sechskantschrauben, Grundplatte an Sockel
C - Innensechskantschrauben, Sockel an Achsschenkelgehäuse
|
Schrauben (A)..............
|
140 N˙m (105 lb.-ft.)
|
|
Schrauben (B)..............
|
140 N˙m (105 lb.-ft.)
|
|
Schrauben (C)..............
|
190 N˙m (140 lb.-ft.)
|
|
1 Nur für
Europa. In nicht europäischen Ländern wird ein Mindestabstand
von 25 mm (1,0 in.) empfohlen.
|
OU12401,0001B7F-29-20130110
|
|