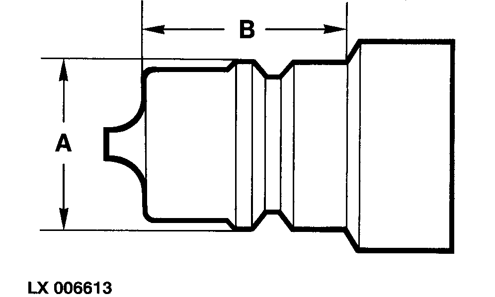
Zusatzsteuergeräte - Anschlussstücke

LX006613-UN-15AUG94
Es müssen Anschlussstücke nach ISO-Norm verwendet
werden.
Das Maß (A) muss zwischen 23,66 und 23,74 mm (0.931 und
0.934 in.) liegen.
Das Maß (B) muss mindestens 24 mm (0.945 in.) betragen.
|
|
OULXA64,00026CC-29-20110121
|
|