Uit de buurt van de draaiende aandrijfleidingen blijven

TS1644-UN-22AUG95

H96219-UN-29APR10
Verstrikt raken in draaiende aandrijfassen kan leiden tot letsel
of de dood.
Houd trekker- en aandrijvingsbeschermingen steeds bevestigd.
Controleer of draaiende beschermingen vrij draaien.
Draag nauw sluitende kleding. Stop de motor en controleer of
het PTO-aandrijfsysteem is gestopt alvorens instellingen, verbindingen
of reiniging van het door de PTO aangedreven werktuig uit te voeren.
Monteer geen adapter tussen de trekker en het primaire werktuig
van de PTO-aandrijfas waarmee een 1000 t/min trekkeras een 540 t/min
werktuig sneller kan laten draaien dan 540 t/min.
Monteer geen adapter waarmee een deel van het draaiende werktuig,
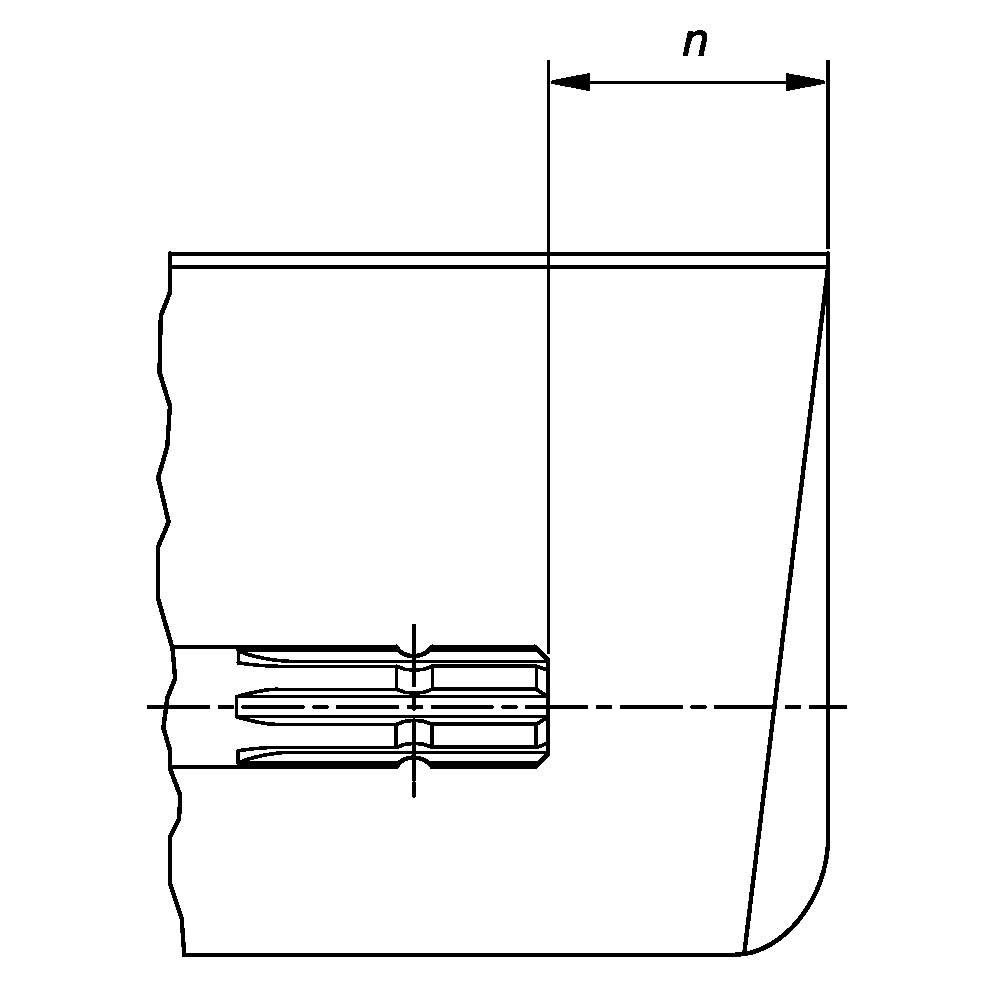
as, trekkeras of adapter onbeschermd is. De trekkerbescherming moet
het einde van de getande as en de adapter overlappen zoals weergegeven
in de tabel.
|
PTO-type
|
Diameter
|
Vertandingen
|
n ± 5 mm (0.20 in.)
|
|
1
|
35 mm (1.378 in.)
|
6
|
85 mm (3.35 in.)
|
|
2
|
35 mm (1.378 in.)
|
21
|
85 mm (3.35 in.)
|
|
3
|
45 mm (1.772 in.)
|
20
|
100 mm (4.00 in.)
|
|