Afstandsbediende trekkoppeling op slijtage controleren
WAARSCHUWING:

LX1031444-UN-23SEP03
Rechte trekhaakpen

LX1039100-UN-11JUL06
Kogelvormige trekhaakpen
Onderdelen waarvan de vervangingsdatum is overschreden, moeten
worden vervangen door nieuwe onderdelen.
Controleer diameters (a, b en c) van de trekhaakpen.
| Punt | Meting | Specificatie |
|
Rechte trekhaakpen | Slijtgrens of diameter
(a) | min. 29 mm min. 1.14 in. |
|
Kogelvormige trekhaakpen | Slijtgrens
of diameter (b) | min. 36,5 mm min. 1.44 in. |
|
Kogelvormige trekhaakpen | Slijtgrens
of diameter (c) | min. 27 mm min. 1.06 in. |

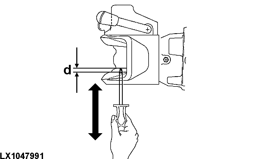
LX1047991-UN-23SEP09
Controleer verticale speling (d) van trekhaakpen.
| Punt | Meting | Specificatie |
|
Trekhaakpen | Speling | max. 2,5 mm max. 0.1 in. |

LX1031443-UN-23SEP03
Controleer diameter (c) van opnamegat.
| Punt | Meting | Specificatie |
|
Onderste opnamegat (gemeten in rijrichting) | Slijtgrens of diameter | max. 34,0
mm (ovaal) max. 1.33 in. (ovaal) |

LX1047992-UN-23SEP09
Controleer dikte (e) van slijtplaat.
| Punt | Meting | Specificatie |
|
Slijtplaat | Dikte | min. 6 mm min. 0.24 in. |
Controleer speling in onderste pengeleider.
| Punt | Meting | Specificatie |
|
Pen in onderste pengeleider | Speling | max. 2,5 mm max. 0.1 in. |
Controleer slijtage van trekhaakpen of boring.
| Punt | Meting | Specificatie |
|
Trekhaakpen en opening | Slijtage | max. 1,5 mm max. 0.06 in. |

LX1048787-UN-09DEC09
Bepaal speling (f) tussen trekkoppeling en opname.
| Punt | Meting | Specificatie |
|
Trekkoppeling en ontvanger | Speling | max. 3,0 mm max. 0.12 in. |
|
|
LX24888,00005D3-18-20100830
|
|