Vaste spatborden instellen

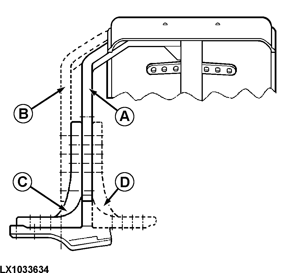
LX1033634-UN-08AUG06
A - Steun basisplaat (wielzijde)
B - Steun basisplaat (trekkerzijde)
C - Basisplaat (trekkerzijde)
D - Basisplaat (wielzijde)
De spatborden kunnen afzonderlijk worden ingesteld. Meerdere
instelposities zijn mogelijk. Kanteling, breedte en hoogte van de
spatborden kunnen afhankelijk van de bandenmaat worden ingesteld.
Ga als volgt te werk:
-

LX1031619-UN-31MAY06

LX1033894-UN-11MAR04
Til de voorkant van de trekker op tot de voorwielaandrijfas
vrij kan draaien.
-
Draai het stuurwiel in beide richtingen en draai de as om de
meest geschikte spatbordpositie te bepalen.
-
Stel de spatbordposities in op zo weinig mogelijk speling (zie
afbeelding). De spatborden mogen het trekkerchassis nergens raken.
A = 40 mm (1.57 in.)1, B = 60 mm (2.36 in.)1
-

LX1031620-UN-24APR06
Stel ook de stuuraanslagen zodanig in dat wiel en spatbord
de componenten nergens raken (bijvoorbeeld brandstoftank).
Draai de schroeven aan met de volgende draaimomenten:

LX1033635-UN-10MAY04
A - Tapbouten, steun basisplaat
B - Tapbouten, basisplaat op basis
C - Inbusbouten, basis op fuseehuis
|
Bouten (A)..............
|
140 N˙m (105 lb.-ft.)
|
|
Bouten (B)..............
|
140 N˙m (105 lb.-ft.)
|
|
Bouten (C)..............
|
190 N˙m (140 lb.-ft.)
|
|
1 Alleen
Europa. In niet-Europese landen wordt een minimumspeling van 25 mm
(1.0 in.) aanbevolen.
|
OU12401,0001B7F-18-20130110
|
|