Meedraaiende spatborden instellen

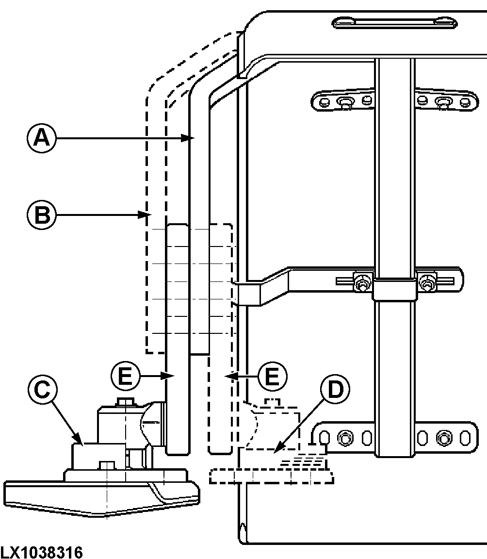
LX1038316-UN-08AUG06
A - Steun op instelarm (wielzijde)
B - Steun op instelarm (trekkerzijde)
C - Draaiplaat (trekkerzijde)
D - Draaiplaat (wielzijde)
E - Instelarm
De spatborden kunnen afzonderlijk worden ingesteld. Meerdere
instelposities zijn mogelijk. Kanteling, breedte en hoogte van de
spatborden kunnen afhankelijk van de bandenmaat worden ingesteld.
Als het de bedoeling is te wisselen tussen posities C en D, draai
dan het onderdeel om (monteer het NIET aan de andere zijde van de
trekker). Stel dan hoek instelarm voor-naar-achter (E) in. Volg deze
procedure om in te stellen:
-

LX1031619-UN-31MAY06

LX1033894-UN-11MAR04
Til de voorkant van de trekker op tot de voorwielaandrijfas
vrij kan draaien.
-
Draai het stuurwiel in beide richtingen en draai de as om de
meest geschikte spatbordpositie te bepalen.
-
Stel de spatbordposities in op zo weinig mogelijk speling (zie
afbeelding). De spatborden mogen het trekkerchassis nergens raken.
A = 40 mm (1.57 in.)1, B = 60 mm (2.36 in.)1
-
Stel de spatbordstop zodanig in dat deze niet vastloopt als
het stuurwiel en de as helemaal worden verdraaid. Controleer of de
stop het trekkerchassis raakt voordat het spatbord het chassis raakt.
-

LX1031620-UN-24APR06
Stel ook de stuuraanslagen zodanig in dat wiel en spatbord
de componenten nergens raken (bijvoorbeeld brandstoftank).
Draai de schroeven aan met de volgende draaimomenten:

LX1033893-UN-11MAR04
A - Tapbouten, steun op instelarm
B - Tapbout, instelarm op verbinding
C - Tapbouten, draaiplaat op basis
D - Inbusbouten, basis op fuseehuis
|
Bouten (A)..............
|
140 N˙m (105 lb.-ft.)
|
|
Bout (B)..............
|
300 N˙m (220 lb.-ft.)
|
|
Bouten (C)..............
|
140 N˙m (105 lb.-ft.)
|
|
Bouten (D)..............
|
190 N˙m (140 lb.-ft.)
|
|
1 Alleen
Europa. In niet-Europese landen wordt een minimumspeling van 25 mm
(1.0 in.) aanbevolen.
|
OU12401,0001B80-18-20130110
|
|