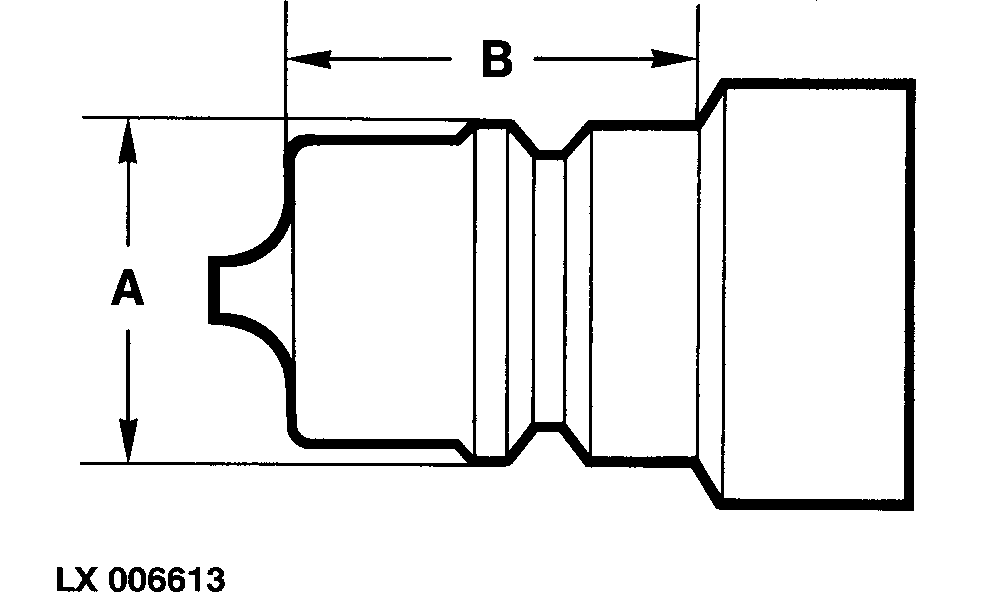
SCV's - Slangkoppelingen

LX006613
LX006613-UN-15AUG94


De gebruikte slangkoppelingen moeten voldoen aan ISO normen.

Maat (A) moet tussen 23,66 en 23,74 mm (0.931 en 0.934 in.) zijn.

Maat (B) moet minstens 24 mm (0.945 in.) zijn.

OULXA64,00026CC-18-20110121