Driepuntsgewicht voormonteren
WAARSCHUWING: Bij onderstaande werkzaamheden altijd de veiligheidsinstructies
opvolgen.
WAARSCHUWING: Hef- en transportuitrusting voor de gewichten moeten
minstens 900 kg (1985 lb) of 1150 kg (2535 lb) kunnen dragen.
WAARSCHUWING: Gebruik alleen goedgekeurde hefuitrusting.
WAARSCHUWING: Volg de veiligheidsvoorschriften op. Ga niet onder
geheven lading staan.
OPMERKING: Om transport van gewichten te vergemakkelijken, is het
een goed idee om deze op een pallet voor te monteren. Draagvermogen
van het pallet controleren.

LX013997-UN-02APR96
Gebruik een takel om het middelste gewicht (A) op een vlakke
ondergrond neer te laten.
Bevestig de zijgewichten (B) aan de zijkanten van het middelste
gewicht, en installeer draagas (C).
Draai moeren aan (D) met 300 N˙m (220 lb-ft).
Bij de aanbouw aan de driepuntshefinrichting, stel de pennen
(E) op maximale lengte in.

LX013999-UN-02APR96
Wanneer alleen het middelste gewicht wordt aangebouwd, monteer
een afstandsbus (A) op beide kanten van de draagas.
Draai de moeren aan tot 300 Nm (220 lb-ft).

LX012554-UN-27JUN96
Wanneer een 80 kg (175 lb) basisgewicht wordt aangebracht,
monteer een afstandsstuk (A) aan beide binnenkanten.
Wanneer een 110 kg (240 lb) basisgewicht wordt aangebracht,
zijn geen afstandsstukken nodig.
Monteer inbusbouten (C) van binnenuit en monteer moeren (B).

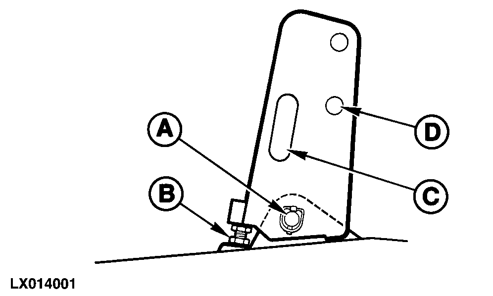
LX014001-UN-02APR96
Bij aanbouw aan de driepuntshefinrichting, monteer de topstangbeugel.
Monteer en borg pen (A). Stel schroef (B) in tegen het aanhanggewicht
en zet deze vast met contramoer.
De topstang heeft een voorziening (C) waar afstandsstukken bevestigd
kunnen worden als ze niet worden gebruikt.
Wanneer de topstangbeugel niet wordt gebruikt, kan deze worden
gekanteld en via het gat (D) aan het gewicht worden bevestigd.
|
|
OULXE59,0010880-18-20060416
|
|