Ellenőrizze a fülkéből kapcsolható
pótkocsi vonófej kopottságát
VIGYÁZAT:

LX1031444-UN-23SEP03
Lapolt vonófej csap

LX1039100-UN-11JUL06
Gömb Vonófej Csapszeg
Azokat az alkatrészeket, amelyek elérték,
vagy meghaladták a kopási határértéküket,
újakra kell cserélni.
Ellenőrizze a vonócsap átmérőit
(a, b és c).
| Tétel | Mérés | Specifikáció |
|
Lapolt vonófej csap | Kopási
határérték, vagy átmérő
(a) | min. 29 mm min. 1,14 in. |
|
Gömb vonófej csapszeg | Kopási
határérték, vagy átmérő
(b) | min. 36,5 mm min. 1,44 in. |
|
Gömb vonófej csapszeg | Kopási
határérték, vagy átmérő
(c) | min. 27 mm min. 1,06 in. |

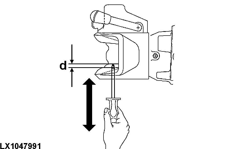
LX1047991-UN-23SEP09
Ellenőrizze a vonócsap függőleges
játékát (d).
| Tétel | Mérés | Specifikáció |
|
Vonócsap | Játék | max. 2,5 mm max. 0,1 in. |

LX1031443-UN-23SEP03
Ellenőrizze a fogadófurat átmérőjét
(c).
| Tétel | Mérés | Specifikáció |
|
Alsó fogadófurat (haladási irányba
nézve) | Kopási határérték,
vagy átmérő | max. 34,0 mm
(ovális) max. 1.33 in. (ovális) |

LX1047992-UN-23SEP09
Ellenőrizze a kopólemez vastagságát
(e).
| Tétel | Mérés | Specifikáció |
|
Kopólemez | Vastagság | min. 6 mm min. 0,24 in. |
Ellenőrizze az alsó csapvezető játékát.
| Tétel | Mérés | Specifikáció |
|
Csap az alsó csapvezetőben | Játék | max. 2,5 mm max. 0,1 in. |
Ellenőrizze a vonócsap vagy furat kopását.
| Tétel | Mérés | Specifikáció |
|
Vonócsap és furat | Kopás | max. 1,5 mm max. 0,06 in. |

LX1048787-UN-09DEC09
Határozza meg a vonófej és a vonófej
tartója közötti játékot (f).
| Tétel | Mérés | Specifikáció |
|
A vonófej és a tartója | Játék | max. 3,0 mm max. 0,12 in. |
|
|
LX24888,00005D3-35-20100830
|
|