A fix sárvédők beállítása

LX1033634-UN-08AUG06
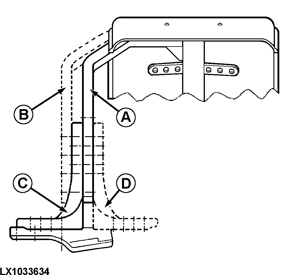
A - Az alaplemezhez csatlakozó tartó
(kerék felől)
B - Az alaplemezhez csatlakozó tartó
(traktor felől)
C - Alaplemez (traktor felől)
D - Alaplemez (kerék felől)
A sárvédők külön-külön
állíthatók. Többféle beállítás
lehetséges. A gumiabroncs méretétől függően
kell a sárvédők dőlését,
szélességét és magasságát
beállítani. Ehhez kövesse az alábbiakat:
-

LX1031619-UN-31MAY06

LX1033894-UN-11MAR04
Emelje fel a traktor elejét úgy, hogy a hajtott
első tengely szabadon tudjon forogni!
-
Fordítsa el a kormánykereket mindkét irányba
és forgassa meg a tengelyt a sárvédők
legmegfelelőbb helyzetének beállításához!
-
Állítsa be a sárvédő helyzetét
a minimális távolságok (lásd az ábrát)
betartásával! Egyik ponton sem lehet érintkezés
a traktor vázával.
A = 40 mm (1,57 in)1, B = 60 mm (2,36 in)1
-

LX1031620-UN-24APR06
Állítsa be a kormányzásiszög-határolót
is úgy, hogy se a kerék, se a sárvédő
ne érjen hozzá a traktor egyéb részeihez
(pl. az üzemanyagtartályhoz)!
Húzza meg a csavarokat a következő
nyomatékokra:

LX1033635-UN-10MAY04
A - rögzítőcsavar, tartó
az alaplemezhez
B - rögzítőcsavar, alaplemezhez
az alaphoz
C - imbuszcsavarok, alap a kerékagyhoz
|
Csavarok (A)..............
|
140 N˙m (105 lb·ft)
|
|
Csavarok (B)..............
|
140 N˙m (105 lb·ft)
|
|
Csavarok (C)..............
|
190 N˙m (140 lb·ft)
|
|
1 Csak Európa.
Az Európán kívüli országokban a javasolt
minimális távolság 25 mm (1 in).
|
OU12401,0001B7F-35-20130110
|
|