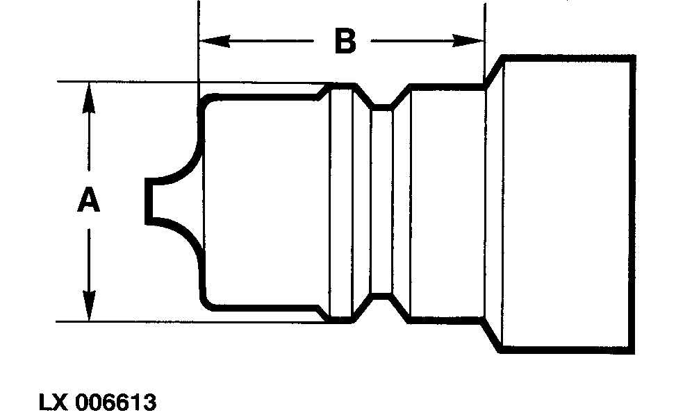
Külső hidraulika szelepek - Gyorscsatlakozók

LX006613-UN-15AUG94
Az alkalmazott gyorscsatlakozók az ISO szabványnak
meg kell feleljenek.
Az (A) méret 23,66 és 23,74 mm (0.931 és
0.934 in.) között kell legyen.
A (B) méret 24 mm (0.945 in.) kell legyen.
|
|
OULXA64,00026CC-35-20110121
|
|