A függesztett pótsúly összeszerelése
VIGYÁZAT: Az alábbi munkák végzésekor
tartsa be a baleset-megelőzési szabályokat.
VIGYÁZAT: Az emelésre és szállításra
használt gép teherbírása legalább
900 kg (1985 lb) vagy 1150 kg (2535 lb) kell legyen.
VIGYÁZAT: Csak minősített emelő berendezést
használjon.
VIGYÁZAT: Tartsa be a biztonsági szabályokat. Ne
álljon a függő teher alá.
MEGJEGYZÉS: A szállítás megkönnyítése
érdekében jó ötlet a pótsúlyt
egy raklapon összeszerelni. Ügyeljen arra, hogy a raklap
teherbírása megfelelő legyen.

LX013997-UN-02APR96
Egy emelőberendezés segítségével
helyezze a pótsúly középső részét
(A) vízszintes területre.
Helyezze az oldalsúlyokat (B) a középső
súly két oldala mellé és helyezze be a
függesztő tengelyt (C).
Húzza meg az anyákat (D) 300 N˙m (220 lb-ft)
nyomatékkal.
Ha a hárompont-emelőhöz csatlakoztatja, állítsa
a csapokat (E) a maximális hosszúságra.

LX013999-UN-02APR96
Ha csak a pótsúly középső
részét csatlakoztatja, a függesztő tengely
mindkét végére helyezze fel a távtartó
perselyeket (A).
Húzza meg az anyákat 300 N˙m (220 lb-ft)
nyomatékkal.

LX012554-UN-27JUN96
Ha a 80 kg-os (175 lb) pótsúly tőkéhez
csatlakoztatja, helyezze be mindkét oldalon belülre a
távtartókat (A).
Ha a 110 kg-os (240 lb) pótsúly tőkéhez
csatlakoztatja, akkor a távtartókra nincs szükség.
Helyezze be a hatlapfejű csavarokat (C) belülről
és rögzítse őket az anyákat (B).

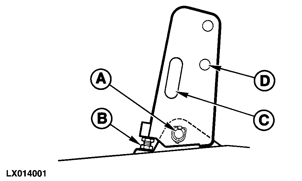
LX014001-UN-02APR96
Ha a hárompont-emelőhöz csatlakoztatja,
szerelje fel a középső függesztő pont
tartóját. Helyezze be és rögzítse
a csapot (A). Állítsa be a mélységet a
(B) csavarral úgy, hogy annyira csavarja be a középső
függesztő pont tartójába, hogy az érintse
a középső pótsúlyt, majd rögzítse
a kontraanyával.
A középső függesztő pont tartóján
található lyukban (C) tárolhatók a távtartók,
ha nincs rájuk szükség.
Ha a középső függesztő pont tartójára
nincs szükség, akkor az átfordítható
és rögzíthető a (D) furat segítségével.
|
|
OULXE59,0010880-35-20060416
|
|