Prese — Presa tripolare e basetta con prese elettriche
tripolari (12 V), (ECE)

LX1057497-UN-11DEC14
In figura: prese su console laterale con CommandARM™

LX1045608-UN-06SEP10

LX1045609-UN-06SEP10

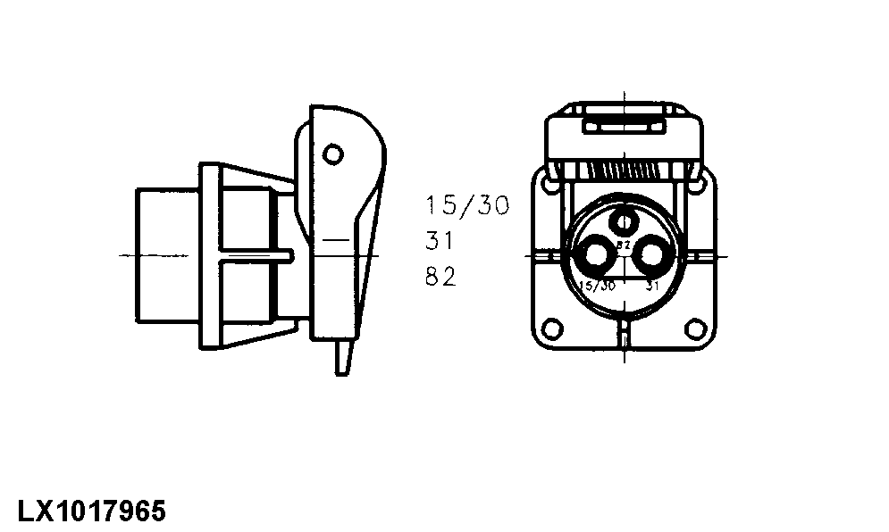
LX1017965-UN-10OCT97
Presa tripolare di alimentazione (ECE)

LX1017911-UN-10OCT97
Presa tripolare di alimentazione della basetta
con prese elettriche (ECE)
A — Presa tripolare di alimentazione (12 V),
(ECE)
Il contatto 15/30 della presa tripolare (A) fornisce una corrente
continua costante massima di 25 A (max. 300 W). Il contatto 82 fornisce
una corrente continua costante massima di 5 A (max. 60 W). Il contatto
31 è collegato a massa. Ruotare la chiave nell’interruttore
a chiave verso destra per alimentare il terminale 82. Il contatto
15/30 è alimentato anche quando l'accensione è disattivata.
IMPORTANTE: Quando vengono usate utenze elettriche con un elevato
assorbimento di corrente e si utilizzano delle prese multiple, non
superare il carico di corrente massimo consentito del circuito di
alimentazione. Tenere presente che il carico totale comprende la somma
di tutte le utenze collegate in qualsiasi momento al circuito di bordo.
Ciò vale anche se le utenze sono collegate al circuito di bordo
alle diverse prese (A) e (B).
B — Basetta con prese elettriche tripolari (12
V), (ECE)
La basetta con prese elettriche (B) può essere installata
in aggiunta tra la porta e il pannello interruttori. Il contatto A
della basetta con prese elettriche fornisce una corrente continua
costante massima di 25 A (max. 300 W). Il contatto B è collegato
a massa. Il contatto C fornisce una corrente continua costante massima
di 5 A (max. 60 W). Ruotare la chiave nell'interruttore a chiave verso
destra per alimentare il contatto C. Il terminale A è alimentato
anche quando l'accensione è disattivata.
|
|
OULXA64,0003501-39-20141211
|
|