Sockets — 3-Terminal Socket and 3-Terminal Power Outlet
Socket Strip (12 Volt), (SAE)

LX1056975-UN-18NOV14
Sockets Shown on Side Console with CommandArm™

LX1056960-UN-05NOV14

LX1056961-UN-05NOV14

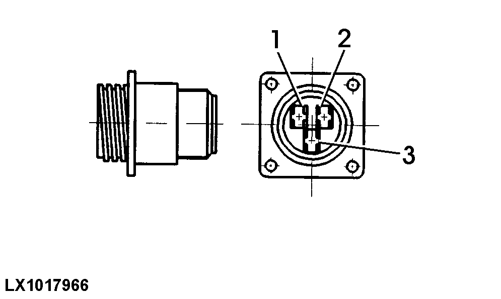
LX1017966-UN-12JAN98
3-Terminal Power Outlet Socket (SAE)

LX1017911-UN-10OCT97
3-Terminal Power Outlet Socket of the Multiple
Power Outlet Socket Strip
A — 3-Terminal Power Outlet Socket (12 Volt),
(SAE)
A maximum permanent direct current of 25 A (300 watt maximum)
may be taken from contact 1 of the 3-terminal socket (A). A maximum
permanent direct current of 25 A (300 watt maximum) may be taken from
contact 2. Contact 3 is ground. Turn key in key switch to
the right to supply power to terminal 1. Contact 2 is supplied with
power even when the ignition is switched off.
IMPORTANT: When operating electrical consumers with high current
draw and using multi-outlet power strips, the maximum permitted current
load of the supply circuit must not be exceeded. Remember, total load
comprises the sum of all the current consumers connected to the on-board
circuit at any one time. This also applies if the consumers are connected
to the on-board circuit at different on-board power outlet sockets
(A) and (B).
3-Terminal Power Outlet Socket Strip (12 Volt), (SAE)
The multiple power outlet socket strip (B) can be attached additionally
between the door and the switch console. A maximum permanent direct
current of 25 A (300 watt maximum) may be taken from contact A of
the multiple power outlet socket strip. Contact B is ground. A maximum
permanent direct current of 25 A (300 watt maximum) may be taken from
contact C. Turn key in key switch to the right to supply power to
contact C. Terminal A is supplied with power even when the ignition
is switched off.
|
|
OULXA64,00034C4-19-20141119
|
|