Two-Piece Front Axle — Adjust the Pivoting Fenders

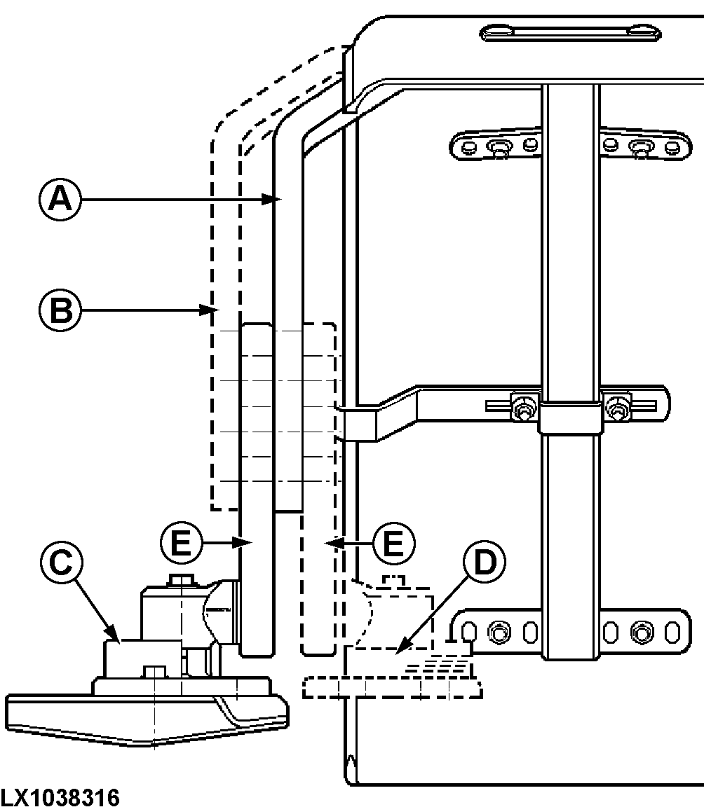
LX1038316-UN-08AUG06
A - Support to adjusting arm (wheel side)
B - Support to adjusting arm (tractor side)
C - Pivot plate (tractor side)
D - Pivot plate (wheel side)
E - Adjusting arm
The fenders may be adjusted individually. Several adjusting
positions are possible. Tilt, width and height of the fenders can
be adjusted depending on tire size. If the intention is to change
between positions C and D, turn the part around (do NOT install it
on the other side of the tractor). Then adjust the front-to-rear angle
of adjusting arm (E). To make the adjustment, follow this procedure:
-

LX1031619-UN-31MAY06

LX1033894-UN-11MAR04
Raise front of tractor so that the front wheel drive axle
can pivot completely freely.
-
Turn steering wheel fully in both directions and pivot the axle
in both directions to stop to determine the most suitable fender mounting
position.
-
Adjust fender position so that the minimum clearances (see illustration)
are met. There should not be any contact with the tractor frame.
A = 40 mm (1.57 in.)1, B = 60 mm (2.36 in.)1
IMPORTANT: If snow chains are installed on the tires, the minimum
distance from the tires to the fenders (side wall to fender and running
surface to fender) has to be 100 mm (3.94 in.).
-
Adjust fender stop to prevent it from being Adjust fender stop
to prevent it from being seized at the edges with steering wheel fully
turned and axle pivoting. at the edges with steering wheel fully turned
and axle pivoting. Make sure that the stop contacts the tractor frame
before reaching the fender.
-

LX1031620-UN-24APR06
Also adjust the steering stop to make sure that the wheel
or the fender does not come into contact with tractor components (e.g.
the tank).
IMPORTANT: Also refer to the following in this section: • “Two-Piece Front Axle — Notes on Adjusting
the Fenders”
• “Two-Piece Front Axle — Notes on Adjusting
the Steering Stop”
-
Tighten the screws to the following torque
values:

LX1033893-UN-11MAR04
A - Cap screws, support to adjusting arm
B - Cap screw, adjusting arm to joint
C - Cap screws, pivot plate to base
D - Hex. socket screws, base to knuckle housing
|
Screws (A)..............
|
140 N·m (105 lb-ft)
|
|
Screw (B)..............
|
300 N·m (220 lb-ft)
|
|
Screws (C)..............
|
140 N·m (105 lb-ft)
|
|
Screws (D)..............
|
190 N·m (140 lb-ft)
|
|
1 Europe
only. In non-European countries, a minimum clearance of 25 mm (1.0
in.) is recommended.
|
OULXA64,000375C-19-20150723
|
|