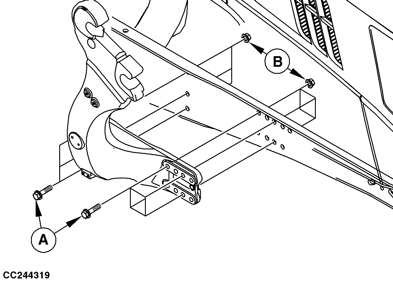
Front Loader Mounting Frames for Loaders 640R/643R, 660R/663R
and 680R/683R

CC244319-UN-04JUN15
|
Hardware used on John Deere™ Front Loader - Mounting Frames
|
|
Item
|
Designation
|
Standard
|
Dimensions
|
Identification / Grade
|
Coating
|
|
(A)
|
Cap Screw with Flange
|
JDS121
|
M20 x 2.5 x 80
|
10.9
|
Zinc
|
|
(B)
|
Hex Nut with Flange
|
ISO4161
|
M20 x 2.5
|
10
|
Zinc
|
IMPORTANT: A front loader checked and approved by John Deere™
is available for purchase. When installing the John Deere™
front loader mounting frames, use only suitable attaching elements
as shown in the illustration above.
Check torques of attaching screws at regular intervals. Comply
with Operator's Manual and Installation Instructions for maintaining
the front loader.
| Item | Measurement | Specification |
|
Cap Screw with Flange
| Torque | 620 N·m (457
lb-ft) |
|
|
OULXA64,0003811-19-20150724
|
|