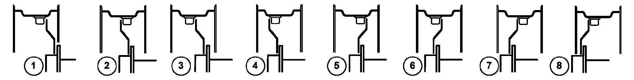
Three-Piece Front Axle (Version 2) — Tread Widths for
Front Wheels with Rims for 8 Positions - 6135M

LX1057503-UN-13MAY15
Three-Piece Front Axle
IMPORTANT: Comply with instructions on front-wheel tread adjustment
with rims for 8 positions.
IMPORTANT: The following tables apply only for wheels that have
standard rims. Non-standard rims may be pressed in to different depths.
In consequence, the values shown in the tables will NOT be valid.
IMPORTANT: After setting the tread, the fender and the steering
stop need to be adjusted. Afterwards oscillate the front axle with
fully turned steering. If the wheels or fenders contact tractor components,
correct the steering stop. See in this section:
-
“Three-Piece Front Axle (Version 2) — Overview of
Axle Category and Axle Type”
-
“Three-Piece Front Axle (Version 2) — Adjust the
Fixed Fenders and Steering Stop”
-
“Preventing Front Wheel or Fender Contact with Tractor
Components”
NOTE: In certain countries, overall vehicle width for driving
on public roads must not exceed 2,55 m (100 in.).

LX1056921-UN-21AUG13
| |
|
Tread width on delivery
|
Tread widths (front wheels)
Arrangement of rim and wheel dish
|
|
Tires:
|
1
|
2
|
3
|
4
|
5
|
6
|
7
|
8
|
|
|
12.4R28
|
mm
|
1824
|
2224*
|
2140
|
2120
|
2036
|
1824
|
1740
|
1720
|
1636
|
|
in.
|
71.8
|
87.6*
|
84.3
|
83.5
|
80.2
|
71.8
|
68.5
|
67.7
|
64.4
|
|
|
13.6R28
|
mm
|
1814
|
2318*
|
2214*
|
2042
|
1938
|
1918
|
1814
|
1642
|
1538
|
|
in.
|
71.4
|
91.3*
|
87.2*
|
80.4
|
76.3
|
75.5
|
71.4
|
64.6
|
60.6
|
|
|
14.9R28
|
mm
|
1814
|
2318*
|
2214*
|
2042
|
1938
|
1918
|
1814
|
1642
|
1538
|
|
in.
|
71.4
|
91.3*
|
87.2*
|
80.4
|
76.3
|
75.5
|
71.4
|
64.6
|
60.6
|
|
|
16.9R28
|
mm
|
1812
|
2316*
|
2212*
|
2040
|
1936
|
1916
|
1812
|
1640
|
1536**
|
|
in.
|
71.3
|
91.2*
|
87.1*
|
80.3
|
76.2
|
75.4
|
71.3
|
64.6
|
60.5**
|
|
|
320/85R28
|
mm
|
1836
|
2340*
|
2236*
|
2064
|
1960
|
1940
|
1836
|
1664
|
1560
|
|
in.
|
72.3
|
92.1*
|
88.0*
|
81.3
|
77.2
|
76.4
|
72.3
|
65.5
|
61.4
|
|
|
340/85R28
|
mm
|
1836
|
2340*
|
2236*
|
2064
|
1960
|
1940
|
1836
|
1664
|
1560
|
|
in.
|
72.3
|
92.1*
|
88.0*
|
81.3
|
77.2
|
76.4
|
72.3
|
65.5
|
61.4
|
|
|
380/70R28
|
mm
|
1814
|
2318*
|
2214*
|
2042
|
1938
|
1918
|
1814
|
1642
|
1538
|
|
in.
|
71.4
|
91.3*
|
87.2*
|
80.4
|
76.3
|
75.5
|
71.4
|
64.6
|
60.6
|
|
|
380/85R28
|
mm
|
1836
|
2340*
|
2236*
|
2064
|
1960
|
1940
|
1836
|
1664
|
1560
|
|
in.
|
72.3
|
92.1*
|
88.0*
|
81.3
|
77.2
|
76.4
|
72.3
|
65.5
|
61.4
|
|
|
420/70R28
|
mm
|
1814
|
2318*
|
2214*
|
2042
|
1938
|
1918
|
1814
|
1642
|
1538
|
|
in.
|
71.4
|
91.3*
|
87.2*
|
80.4
|
76.3
|
75.5
|
71.4
|
64.6
|
60.6
|
|
|
420/85R28
|
mm
|
1836
|
2340*
|
2236*
|
2064
|
1960
|
1940
|
1836
|
1664
|
1560
|
|
in.
|
72.3
|
92.1*
|
88.0*
|
81.3
|
77.2
|
76.4
|
72.3
|
65.5
|
61.4
|
|
|
480/65R28
|
mm
|
1814
|
2318*
|
2214*
|
2042*
|
1938
|
1918
|
1814
|
1642
|
1538**
|
|
in.
|
71.4
|
91.3*
|
87.2*
|
80.4*
|
76.3
|
75.5
|
71.4
|
64.6
|
60.6**
|
|
|
480/70R28
|
mm
|
1812
|
2316*
|
2212*
|
2040*
|
1936
|
1916
|
1812
|
1640
|
1536**
|
|
in.
|
71.3
|
91.2*
|
87.1*
|
80.3*
|
76.2
|
75.4
|
71.3
|
64.6
|
60.5**
|
|
|
540/65R28
|
mm
|
1812
|
2316*
|
2212*
|
2040*
|
1936*
|
1916
|
1812
|
1640**
|
1536**
|
|
in.
|
71.3
|
91.2*
|
87.1*
|
80.3*
|
76.2*
|
75.4
|
71.3
|
64.6**
|
60.5**
|
|
|
* Total vehicle width greater than 2,55 m; the regional road
traffic licensing regulations or other applicable regulations must
be observed.
** Tread width and adjustment of the steering stop is possible
only with steering stop AL225331. See also “Three-Piece Front
Axle (Version 2) — Adjust the Pivoting Fenders and Steering
Stop” for the relevant front axle.
|
|
|
OULXA64,0003EF6-19-20170119
|
|