Selective Control Valves (SCV) - Fittings

LX006613-UN-15AUG94
Use only fittings that are ISO-standard compliant.
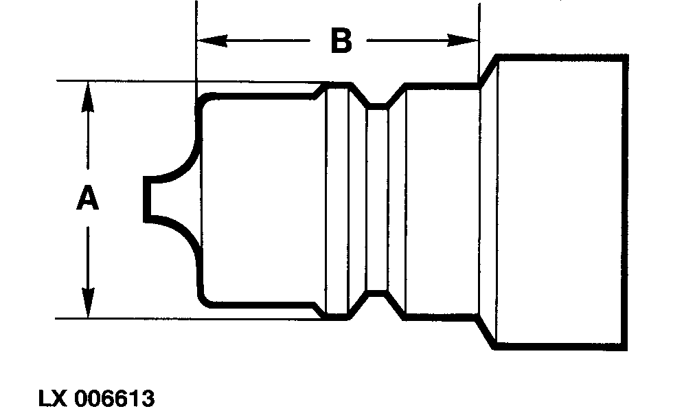
Dimension (A) must be between 23.66 and 23.74 mm (0.931 and
0.934 in.).
Dimension (B) must be at least 24 mm (0.945 in.).
|
|
OULXA64,00026CC-19-20190220
|
|