Rack-and-Pinion Axles, Hub Diameter 79 mm - Adjust Tread Widths
IMPORTANT: The distance between the side wall of the tire and
the fender should not be less than 40 mm (1.57 in.)1. The distance between the running surface (edge) of the tire
and the fender must not be less than 60 mm (2.36 in.)2.
Werden Schneeketten auf die Reifen montiert, muss der Mindestabstand
von den Reifen zu den Kotflügeln (axial und radial) 100 mm (3.94
in) betragen.
Rear Wheel Adjustment

L102691-UN-13APR00
NOTE: Adjustment of wheels is only possible when not more than
two wheel weights are attached to each wheel.
-
Clean the axle with a wire brush.
-
Jack up tractor and turn rear wheel so that rack on axle faces
upward.
-
Loosen the attaching screws.
-
Tighten the jack screws until the screw heads are flush against
the face of the wheel hub.
NOTE: If the wheel hub does not come loose, also unfasten the
three screws on the back of the wheel disk. If this does not work,
strike the end of the axle several times with a heavy hammer and once
again tighten the jack screws evenly. It helps to soak the hub-halves
in penetrating oil.
-
Turn adjusting screw in or out until desired position is reached.
-
After adjusting tread width, unfasten jack screws all the way
out against stop. Do not use force!
-
Lubricate threads and retighten attaching bolts alternately
to 400 Nm (300 lb-ft). When the attaching bolts are tightened to specified
torque, the jack screws should be free to turn; if this is not the
case, loosen jack screws and retighten attaching screws to specified
torque.
-
After completing wheel tread adjustment, make sure that tires
and wheel ballast weights do not rub against the tractor. Then drive
the tractor approx. 50 m (160 ft), stop the tractor and retighten
attaching bolts to 400 N·m (300 lb-ft). The bolts must be retightened
to torque after 4 hours, after 8 hours and several times within the
next 100 hours. See "Break-In Period".
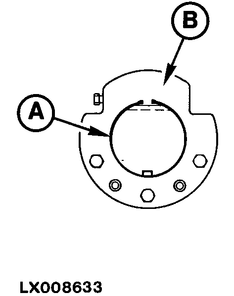
Turn wheel hub (pinion inside)

LX008633-UN-16AUG94

LX008634-UN-16AUG94
A - Snap Ring
B - Wheel Hub
For unfastening, adjusting and tightening wheel hub, see previous
page.
-
To facilitate assembly, remove rear wheel.
-
Remove snap ring (A). Turn adjusting screw so that wheel hub
(B) is at maximum width. Remove wheel hub (B).
-
Put wheel on axle at desired position. Turn wheel hub (B) around
and install it.
-
Install wheel and snap ring (A). For further assembly, see previous
page.
|
1 Europe only. In non-European countries, a minimum
clearance of 25 mm (1.0 in.) is recommended.
2 Europe only. In non-European countries, a minimum
clearance of 25 mm (1,0 in.) is recommended.
|
OULXA64,0004BB7-19-20190308
|
|